传达中发(2021)19号

三部委发文组织开展千乡万村驭风行动附解读
图片尺寸1024x399
2021简约造型烫发,提升气质的中发
图片尺寸1080x1440
网易首页>网易号>正文申请入驻>660_4619竖版 竖屏
图片尺寸660x4619
做好"千乡万村驭风行动",风电产业或将爆发|掘金_新浪财经_新浪网
图片尺寸1096x613
量子位低轨通信卫星卫星互联网深度产业报告
图片尺寸1080x1559
巩固拓展脱贫攻坚成果同乡村振兴有效衔接的意见》(中发〔2020〕30号)
图片尺寸640x356
抖音拟以14亿元收购相关牌照方,补齐支付短板|抖音
图片尺寸407x500
国务院关于进一步深化电力体制改革的若干意见》(中发〔2015〕9号)
图片尺寸1000x1414
前瞻未来510年中国医疗保障待遇设计的改革思路
图片尺寸674x506
十四五推动高质量发展的国家标准体系建设规划的通知国标委联202136号
图片尺寸634x897
亿联银行盘点七年业绩起伏个人消费贷业务80靠助贷担保兜底躺赚
图片尺寸554x522
中发〔2019〕18号)《自然资源部关于全面开展国土空间规划工作的通知
图片尺寸640x906
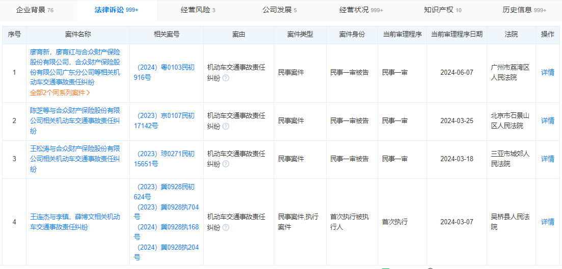
另据天眼查统计数据显示,2021年至2023年三年时间,合众财险被告案件达
图片尺寸1103x529
定了深圳新中考改革方案正式发布深圳新一轮体育中考这样考
图片尺寸563x474
2021中发造型look好看又好打理超百搭
图片尺寸618x702
《中共中央国务院关于深入打好污染防治攻坚战的意见》(中发〔2021
图片尺寸1080x827
网易首页>网易号>正文申请入驻>660_292
图片尺寸660x292
这家互联网银行被罚近800万去年净利大增四成
图片尺寸1280x910
转型或成必然社区医院的前世今生与未来
图片尺寸1555x200
2021年3月,国家发改委明确将建立碳达峰碳中和的"1 n"政策体系,作为
图片尺寸799x402