伸缩卡套内部结构

cn201535086u_帐篷伸缩套杆弹簧扣有效
图片尺寸1687x1887
日韩短款真皮磨砂可伸缩卡套包 时尚牛皮渐变色多卡位搭扣卡包
图片尺寸750x429
超级新品 搭啵兔 日本索尼克-923易拉扣伸缩扣360°背夹安全卡套医院
图片尺寸630x557
易拉扣 门禁卡伸缩扣 工作牌口袋夹工作证考勤证件卡套胸卡易拉得
图片尺寸750x1206
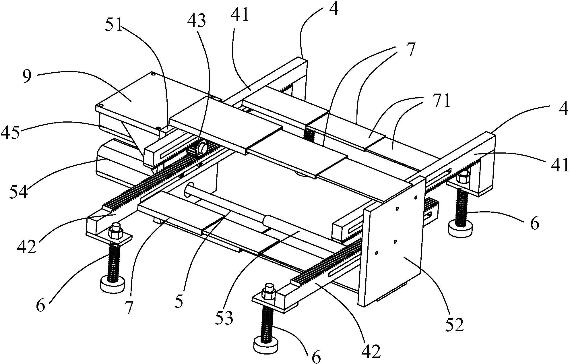
可自动伸缩式夹具及工业机器人
图片尺寸1986x1268
进阶篇3112dfm注塑卡扣
图片尺寸406x486
用户讨论涨套的设计与制作过程
图片尺寸696x607
套筒伸缩器的内部结构示意图
图片尺寸220x159
门扣开关按压自锁卡扣 伸缩门栅尼龙按压弹扣开关门扣
图片尺寸750x808
夹紧套的制作方法
图片尺寸946x1000
cn201152415y_一种内嵌式卡套密封结构失效
图片尺寸1372x969
依彩 送笑脸贴 工作证件卡套胸卡挂绳伸缩扣公交门禁卡套员工厂牌工作
图片尺寸800x800
拉绳伸缩卡套 可爱卡通饭卡门禁卡保护套学生卡公车卡钥匙扣卡套
图片尺寸800x800
hp偏心套总成
图片尺寸1080x810
韩国多卡位可伸缩卡套零钱多功能学生易拉扣交通公交车饭卡套带绳
图片尺寸800x800
护士胸牌胸卡伸缩扣胸卡挂牌工作工卡医生工作牌易拉扣可伸缩卡套
图片尺寸800x800
夹子厂牌软胶胸牌伸缩易拉胸卡卡套
图片尺寸800x800
公交车卡套带挂绳学生校园饭卡胸卡工牌交通地铁门禁卡可伸缩卡套
图片尺寸800x800
包邮可爱毛绒面包超人伸缩卡套公交卡套胸牌门禁卡套儿童接送卡套
图片尺寸800x800
虎年系列伸缩卡套小学生儿童公交市民卡防丢接送卡幼儿园伸缩校牌带
图片尺寸800x800