伸缩杆原理图旋转

cn201641905u_伸缩旋转拖把有效
图片尺寸2038x2724
一种同轴伸缩旋转装置的制作方法
图片尺寸1000x501
伸缩旋转装置的制作方法
图片尺寸1000x702
一种自由旋转伸缩毛巾杆制造技术
图片尺寸597x455
cn101158229a_脚手架插卡旋转伸缩杆失效
图片尺寸1828x653
cn207306596u_一种自由旋转伸缩毛巾杆有效
图片尺寸595x452
一种旋转杆结构的制作方法
图片尺寸1000x427
一种旋转伸缩机构的制作方法
图片尺寸1000x761
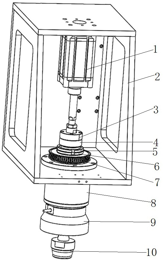
摘要本实用新型公开了一种可伸缩旋转机构,包括框架外壳,气缸,连接杆
图片尺寸543x868
cn107535185a_一种林果采摘机器人的回转升降伸缩装置在审
图片尺寸926x1000
一种可旋转双向伸缩机构的制作方法
图片尺寸1000x483
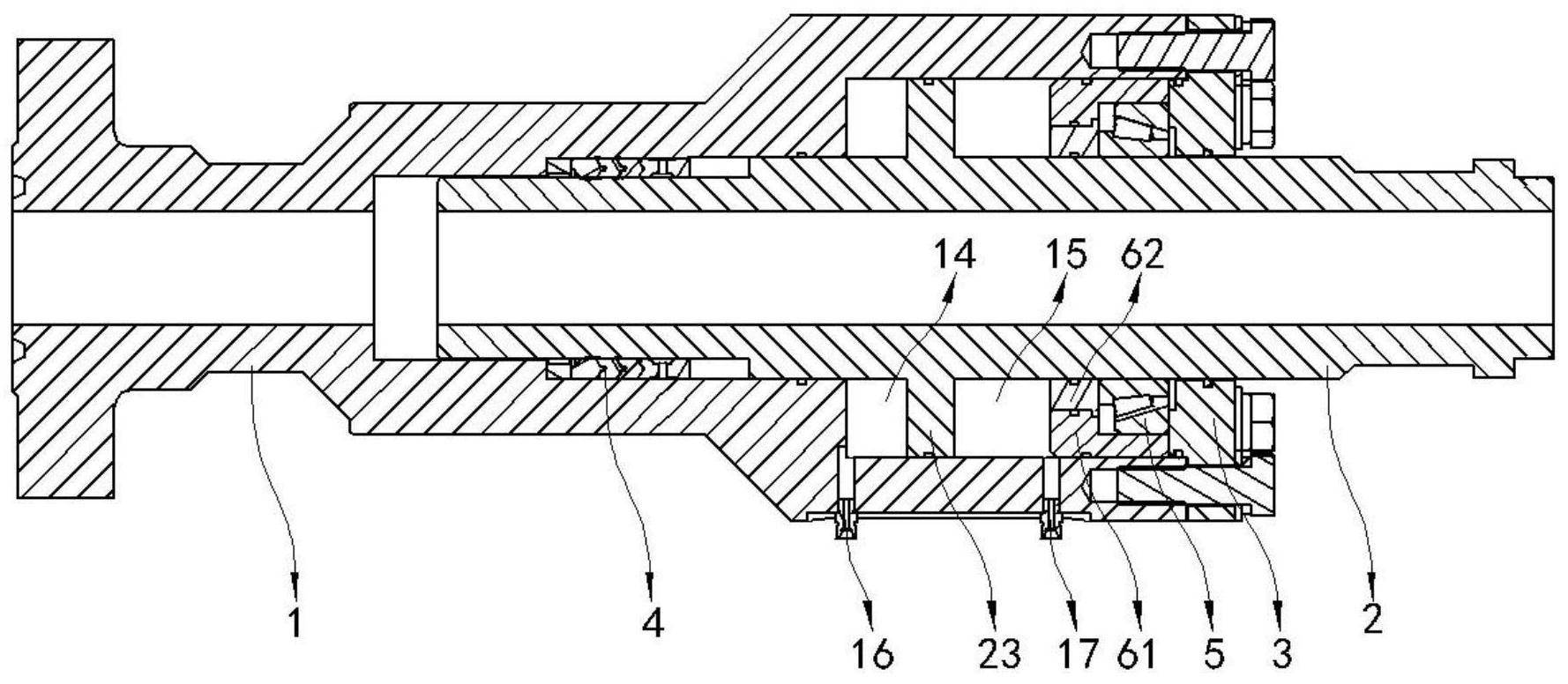
cn112412348a_一种高压管汇伸缩旋转短节在审
图片尺寸1778x776
cn2224535y_拉杆伸缩控制装置失效
图片尺寸1674x2000
伸缩浴帘杆如何安装 伸缩浴帘杆原理介绍
图片尺寸600x372
一种伸缩旋转式工业除静电清洁毛刷制造技术
图片尺寸1000x695
一种滚筒焊机自动伸缩旋转轴杆的制作方法
图片尺寸504x373
焊接机臂伸缩旋转机构制造技术
图片尺寸1000x966
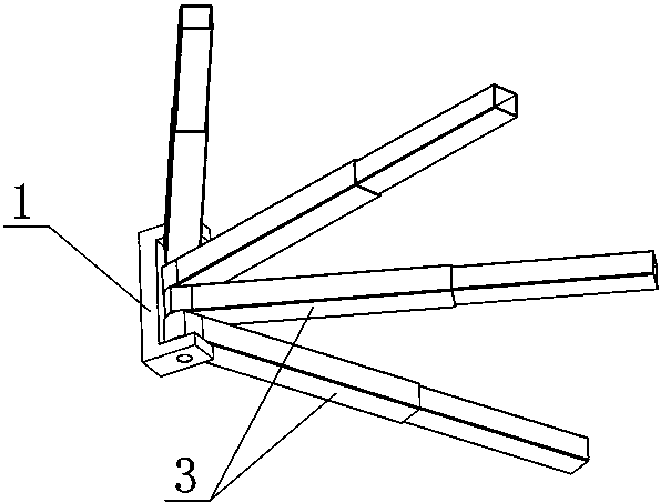
一种双管不伸缩可旋转杆的制作方法
图片尺寸1000x443
cn111237305a_一种可承重的伸缩拉杆在审
图片尺寸734x1000
一种任意伸缩翻转机构的制作方法
图片尺寸1000x874