伸缩杆机械原理图

cn111237305a_一种可承重的伸缩拉杆在审
图片尺寸734x1000
一种多功能伸缩拉杆机构
图片尺寸978x1000
cn208918990u_一种可调伸缩杆
图片尺寸535x681
臂杆伸缩液压系统原理图
图片尺寸580x435
一种自锁式电动伸缩杆
图片尺寸598x279
cn2224535y_拉杆伸缩控制装置失效
图片尺寸1674x2000
cn201133396y_一种可伸缩支撑杆失效
图片尺寸1858x842
一种自动控制伸缩杆末端支撑结构
图片尺寸1954x1340
尤其用于可手动引导的设备的伸缩杆的制作方法
图片尺寸1000x959
cn201836162u_伸缩杆失效
图片尺寸1476x2736
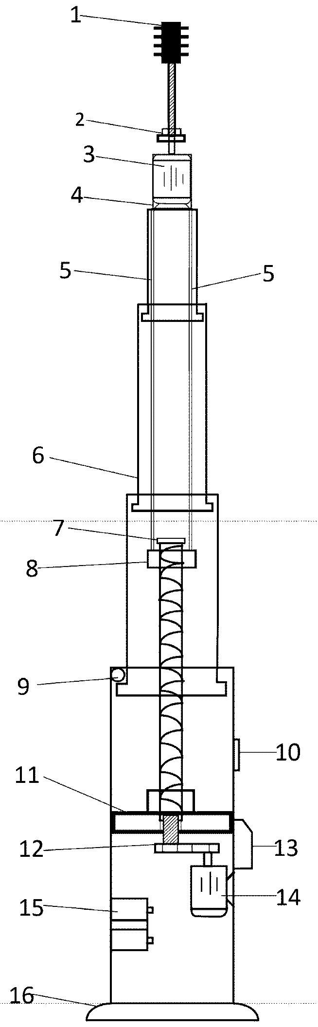
一种螺杆式伸缩杆的制作方法
图片尺寸644x1000
包括第一丝杆,第一滑块,第一伸缩臂;所述第一丝杆位于所述外壳内与所
图片尺寸1000x424
本发明属于一种机械结构领域,具体涉及一种伸缩杆.
图片尺寸710x1000
一种伸缩支杆及电风扇的制作方法
图片尺寸1000x832
伸缩杆 #电缸 #机械原理 #机械设计 #自动化
图片尺寸442x331
步进销式伸缩杆
图片尺寸800x480
一种多级伸缩杆_cn201910540590.x_知雀网
图片尺寸1000x561
一种新型锁紧结构伸缩杆的制作方法
图片尺寸501x810
包括刷子,防水轴承杆,马达一,塑料外壳,吊杆,竹节式伸缩杆,限位块
图片尺寸654x2112
cn205265440u_智能伸缩杆有效
图片尺寸997x1000