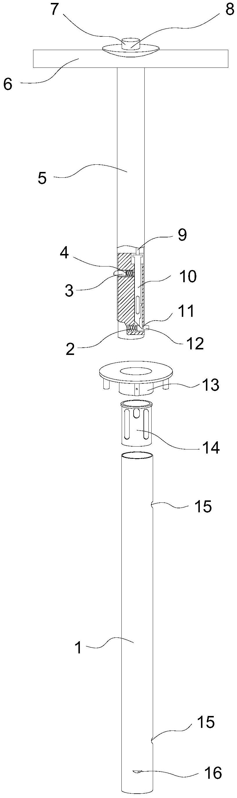
伸缩杆零件图

路易电动推杆大推力沙发电机桑拿躺椅按摩床用承重型工业伸缩杆
图片尺寸750x1341
一种自由锁紧伸缩杆
图片尺寸1703x2020
一种可伸缩支撑杆的制作方法
图片尺寸1000x863
一种具有新型伸缩结构的汽车尾门撑杆
图片尺寸1899x2051
一种伸缩杆
图片尺寸1195x1853
一种新型伸缩杆的制作方法
图片尺寸948x1850
伸缩杆免打孔安装窗户窗帘可调节穿杆浴帘门帘杆子支架浴室晾衣托
图片尺寸1500x1920
一种单管拉杆箱用伸缩拉杆
图片尺寸816x2743
一种多级伸缩杆
图片尺寸1000x561
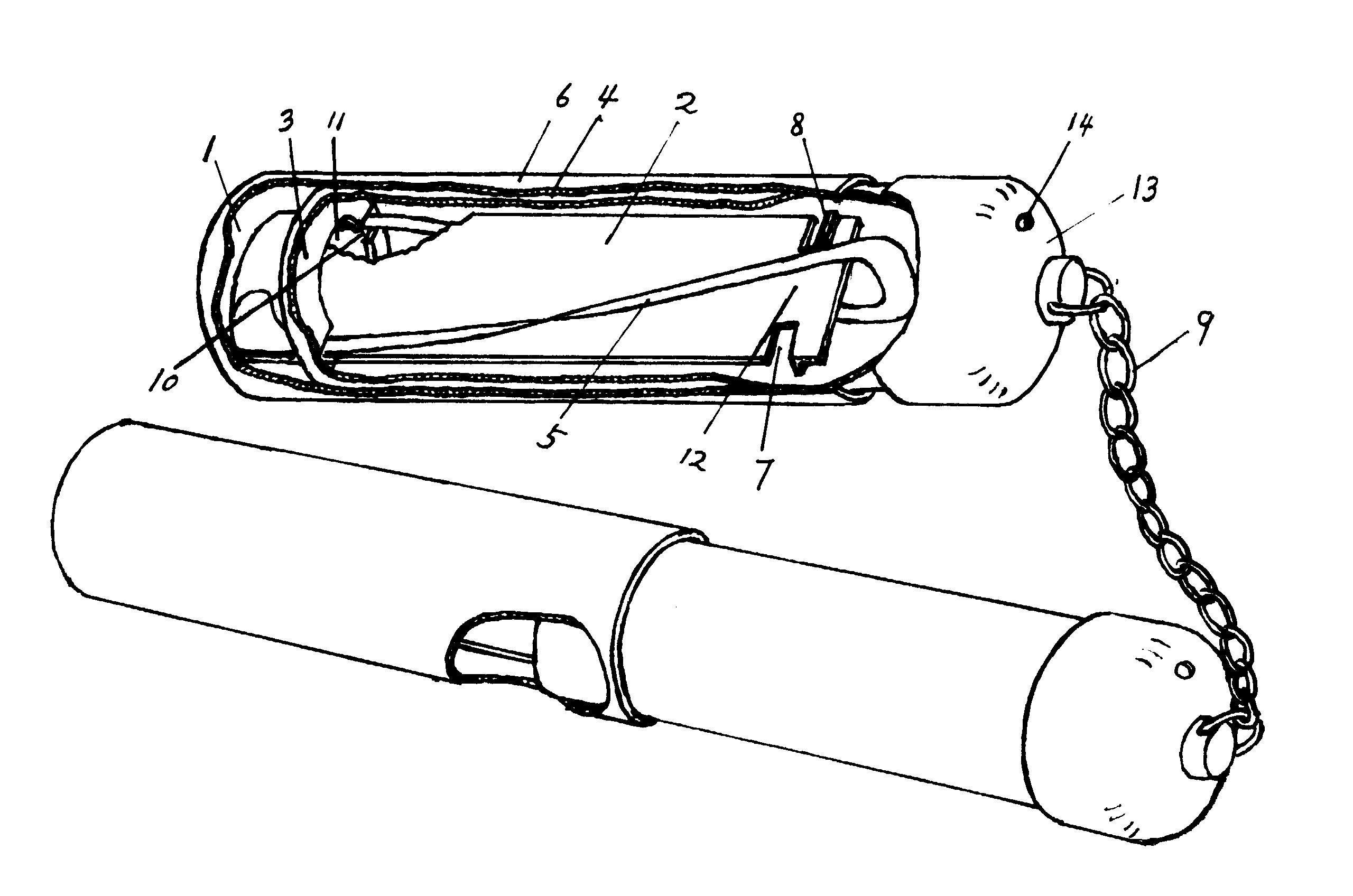
伸缩式二节棍
图片尺寸2560x1696
浴室浴帘杆免打孔卫生间伸缩杆阳台晾衣杆撑杆衣柜门帘杆窗帘杆
图片尺寸790x956
一种能够快速伸缩的伸缩杆
图片尺寸799x490
一种内置电线的伸缩杆结构
图片尺寸1435x1908
伸缩杆
图片尺寸928x1912
一种可承重的伸缩拉杆在审
图片尺寸734x1000
一种具有伸缩杆结构的摘果器
图片尺寸1348x2022
按钮式伸缩支撑 6102系列
图片尺寸3266x2437
一种可伸缩连接杆及蒸汽地拖
图片尺寸1090x2839
一种可承重的伸缩拉杆的制作方法
图片尺寸734x1000
三节臂,伸缩油缸,伸绳链条及回绳链条;所述伸缩油缸包括缸筒及伸缩杆
图片尺寸1196x2562