伸缩柱结构

双伸缩立柱结构图
图片尺寸700x242
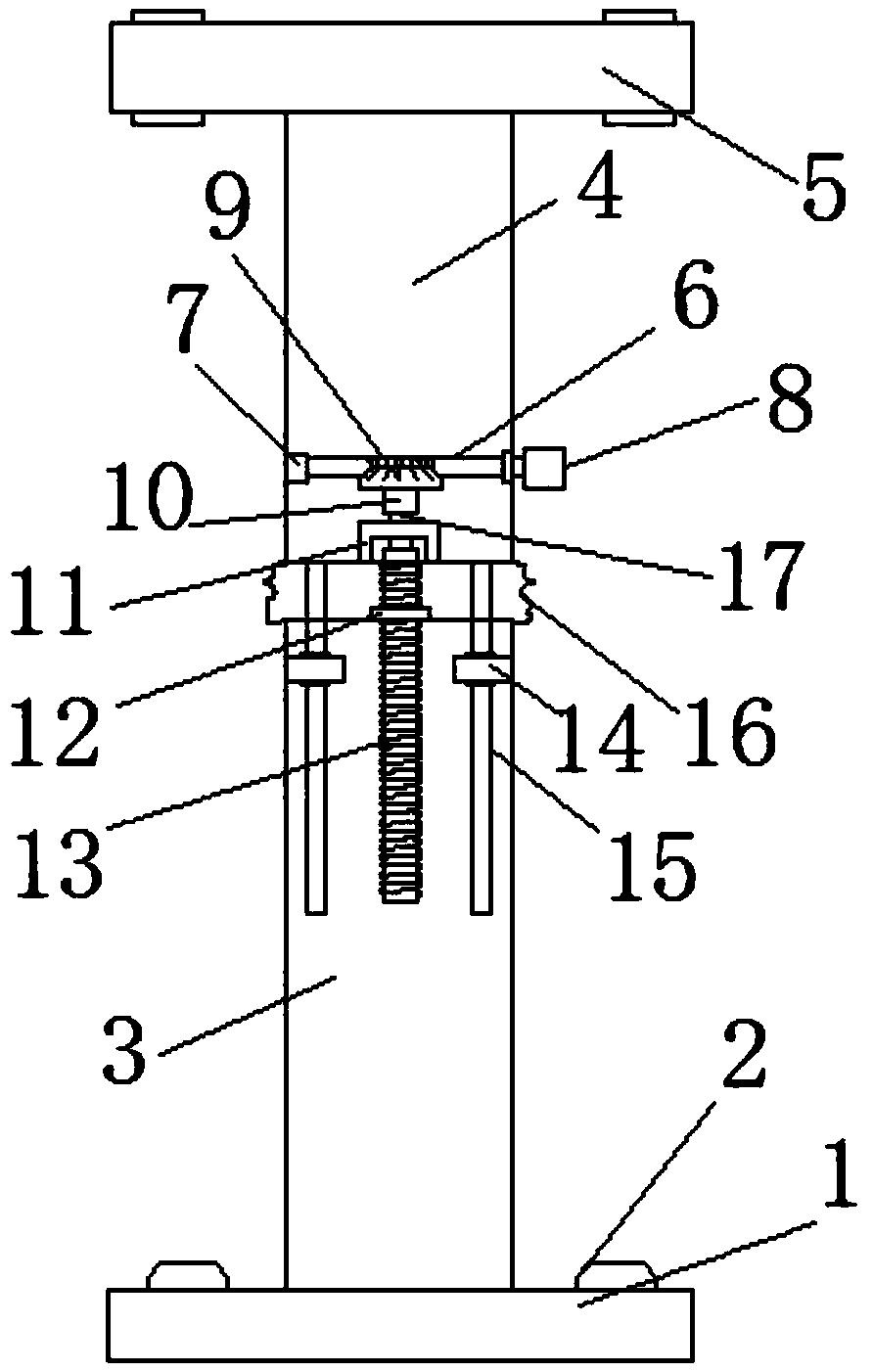
一种可调伸缩立柱装置的制作方法
图片尺寸373x1000
一种可伸缩式升降柱
图片尺寸726x2301
一种机械类的小型伸缩支撑柱-爱企查
图片尺寸892x1402
一种可伸缩的建筑钢结构
图片尺寸1398x1574
zgw9-816w/j8000型隔离开关采用双柱水平伸缩式结构;采用内藏式
图片尺寸387x498
用于升降桌的高度调节的可伸缩的提升柱
图片尺寸1472x1737
cn201705877u_一种三节式同步直线升降柱体失效
图片尺寸910x1382
一种基于弹簧和锁定组件的伸缩式转向柱机构制造技术
图片尺寸487x1000
液压支架双伸缩立柱
图片尺寸2182x1275
电动升降机的伸缩立柱钢丝绳结构
图片尺寸800x1026
伸缩式转向装置用外柱的制作方法
图片尺寸1000x765
gs810伸缩式全自动带警示灯升降柱
图片尺寸1430x938
矿大路面用自动路障伸缩柱急速发货kel006地埋式升降柱操作简单
图片尺寸640x405
笔记本电脑放置架的结构,包括底座,提升支架,折叠支架,连接柱,伸缩架
图片尺寸800x448
天津自动挡车升降柱液压伸缩地桩防撞反恐隔离升降路障防爆阻车柱
图片尺寸600x800
矿用双伸缩内柱外柱悬浮式单体液压支柱dw外柱式单体液压支柱
图片尺寸750x750
本技术提供一种800kv双柱水平伸缩式高压交流隔离开关,结构独特,稳定
图片尺寸802x1000
定制电动伸缩升降柱全自动液压升降地桩学校路桩古达智能防撞柱路障防
图片尺寸800x800
和泄压口,采用顶升无振捣技术进行混凝土施工,模板外侧设置可伸缩斜撑
图片尺寸344x243