伸缩锁紧装置

轴向锁紧装置
图片尺寸401x418
飞行汽车的一种对接锁紧装置设计
图片尺寸256x252
机械锁紧装置,不错的,带所有特征(sw格式)
图片尺寸1112x810
求一种轴的锁紧装置
图片尺寸918x696
所述主管体和伸缩杆之间设有限制相对转动的锁紧装置,锁紧装置包括一
图片尺寸733x800
锁紧装置细节图
图片尺寸820x804
一款凸轮锁紧装置
图片尺寸670x469
基于磁致伸缩形状记忆结构的磁悬浮惯性执行机构锁紧装置
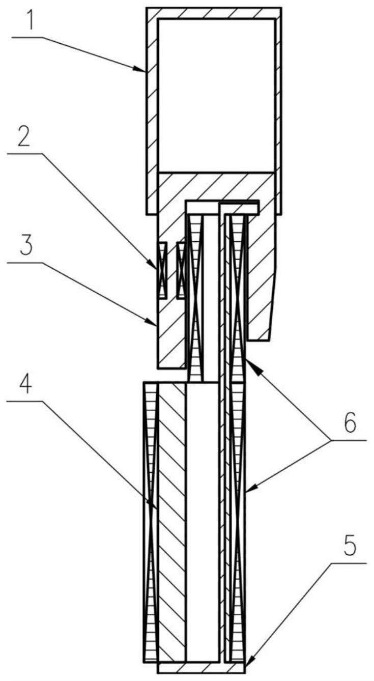
图片尺寸735x1338
伸缩梯的锁紧装置的制作方法
图片尺寸374x525
thr气动锁紧装置sqc-1a系列
图片尺寸762x474
一种伸缩杆锁紧装置
图片尺寸1432x1249
一种伸缩杆的摇杆式调节锁紧装置的制作方法
图片尺寸443x227
一种伸缩杆锁紧装置的制作方法
图片尺寸444x412
渔竿手柄的伸缩锁紧装置-智农361-国际专利·农资器具展示交易平台
图片尺寸800x771
飞行汽车的一种对接锁紧装置设计
图片尺寸300x225
机箱锁紧装置#游戏电脑组装 #军工 - 抖音
图片尺寸1440x3200
s1 电磁铁往返式锁紧机构.gif
图片尺寸1890x969
气动锁紧装置三维图
图片尺寸300x225
在列车上的锁紧机构包括列尾托盘,其与列尾装置固定连接;伸缩锁紧装置
图片尺寸1000x815
正道瑞特斯新技术快速锁紧装置专利
图片尺寸1116x700