伺服压机结构图

杆机构和螺旋机构的伺服压力机结构如图1,2所示
图片尺寸949x762
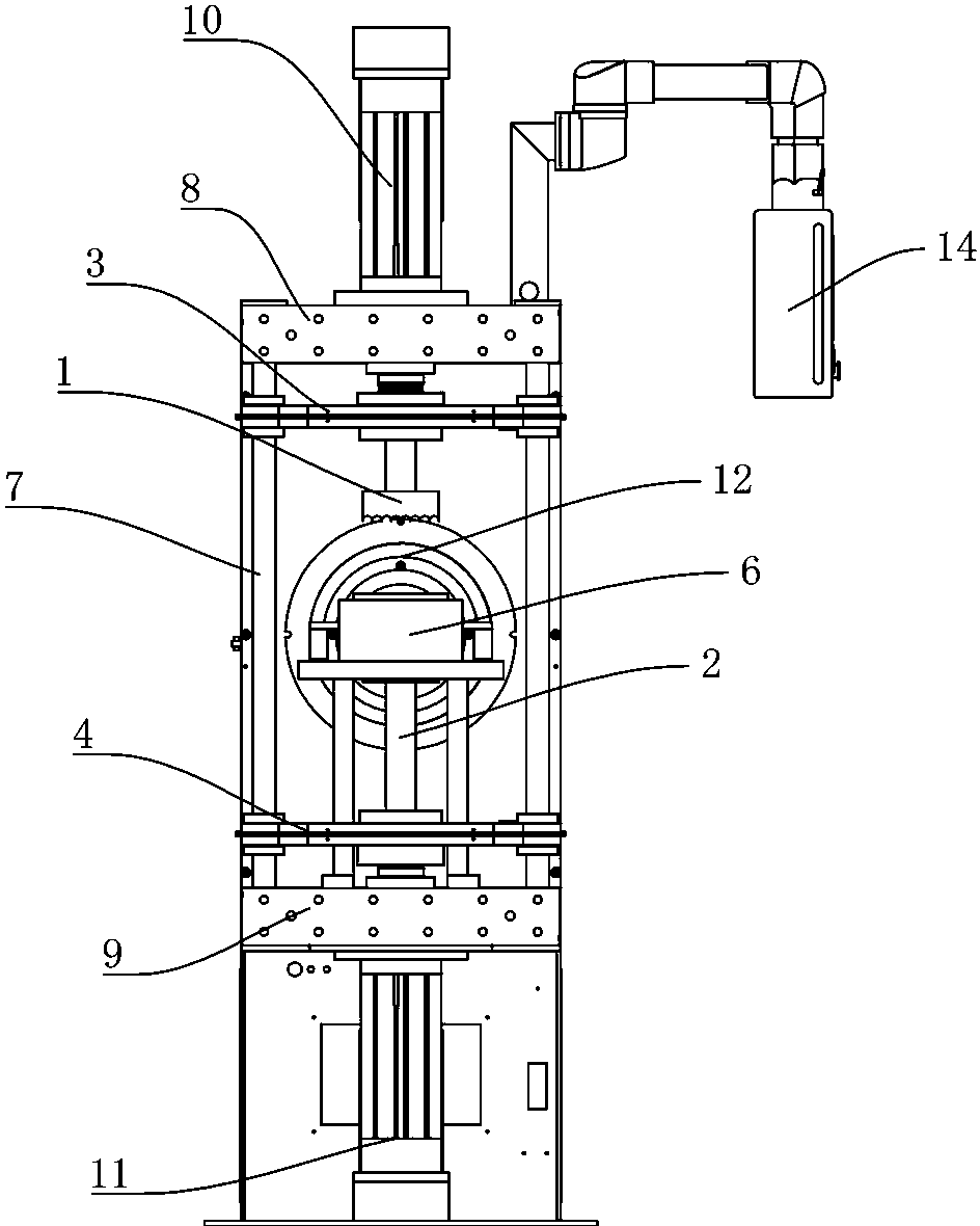
一种双工位伺服热压机的制作方法
图片尺寸867x1000
一种伺服压力机
图片尺寸1411x1830
伺服压力机三维
图片尺寸820x1238
伺服压机方案
图片尺寸407x536
什么是伺服压力机电缸?
图片尺寸560x748
cn102114713a_具有非圆齿轮传动机构的数控伺服压力机失效
图片尺寸1707x1548
电子伺服压力机操作说明书
图片尺寸540x419
伺服压力机的研究及其发展前景
图片尺寸580x225
冲压车间现用压力机基础培训ggppt课件
图片尺寸800x600
一种中心对称双端面凸轮驱动的四肘杆伺服压力机
图片尺寸783x1000
伺服压力机技术参数
图片尺寸699x600
一种伺服电机驱动高性能节能型双动液压机
图片尺寸1947x2380
对称布置多端面凸轮驱动偶数个独立肘杆式伺服压力机
图片尺寸953x1000
cn108787850a_一种伺服快速冲压机构失效
图片尺寸1516x1200
cn105013996a_一种偏心齿轮分体曲轴行程可调式伺服压力机有效
图片尺寸610x1000
伺服电动螺旋压力机的结构零件较少,并且马达自身即可让滑块停止,制动
图片尺寸449x377
一种全伺服式自动压机的成型装置
图片尺寸944x1180
一种双动力电液伺服冲压机的制作方法
图片尺寸663x1000
伺服液压机(伺服液压机)工作原理图
图片尺寸640x465