低泄高封阀

低泄高封阀
图片尺寸504x464
低泄高封阀
图片尺寸400x267
qdg低泄高封阀,使用品质更可靠
图片尺寸800x800
低泄高阻阀
图片尺寸551x551
可调安全阀可调泄压阀批发,耐高温高压, - 抖音
图片尺寸400x400
气体灭火检漏装置,低泄高封阀,喷头
图片尺寸279x319
低泄高封阀
图片尺寸298x220
干式报警阀,气体灭火系统中常用的低泄高封阀
图片尺寸1080x608
低泄高封阀
图片尺寸750x750
闸阀,止回阀,减压阀,低泄高封阀,超压泄压阀等
图片尺寸384x400
低泄高封阀
图片尺寸750x750
一种消防低泄高封阀-爱企查
图片尺寸800x536
低泄高封阀
图片尺寸353x220
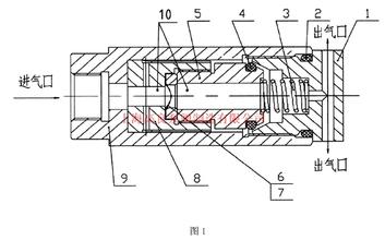
低泄高封阀的内部构造及其原理
图片尺寸1080x1428
气体灭火检漏装置,低泄高封阀,喷头
图片尺寸3264x2448
低泄高封阀 适用范围:气体灭火系统.
图片尺寸760x315
闸阀,止回阀,减压阀,低泄高封阀,超压泄压阀等
图片尺寸1080x463
9,气体检测低泄高封阀
图片尺寸1080x1920
高真空放气阀 氟胶密封圈安装角度自由烘烤温度:200℃ - 抖音
图片尺寸1440x1920
气体灭火低匙槌捎虢峁褂心男┳饔
图片尺寸640x427