低温球阀结构图

背景技术:lng接收站规定超低温球阀的阀座密封结构为一端阀座为单向
图片尺寸556x576
球阀的结构型式与技术要求
图片尺寸700x537
球阀结构图
图片尺寸916x1001
压力表球阀
图片尺寸1200x612
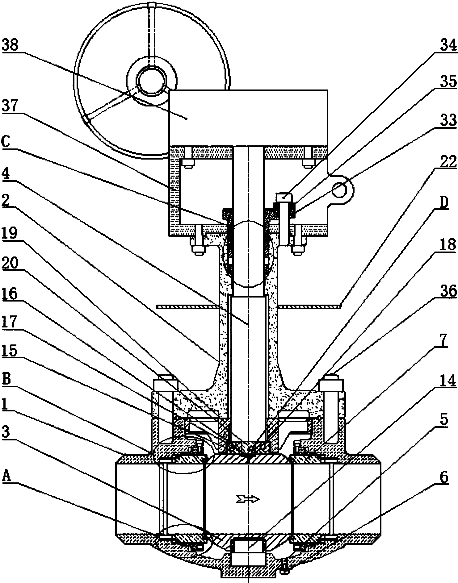
一种超低温超高压上装式自密封球阀
图片尺寸1465x2747
球阀的结构型式与技术要求
图片尺寸700x492
在线维修超低温高性能球阀
图片尺寸1632x1998
cn101737520a_超低温球阀失效
图片尺寸1371x1726
超低温球阀的制作方法
图片尺寸666x1000
球阀结构原理图
图片尺寸600x399
不锈钢低温球阀厂家电话
图片尺寸403x420
球阀的作用及球阀结构图
图片尺寸454x304
v型球阀结构
图片尺寸210x200
在线维修超低温上装式浮动球球阀
图片尺寸1917x2222
burkert球阀的分类结构示意图
图片尺寸344x290
q11f铜球阀结构图片
图片尺寸448x353
一种超低温高压球阀,包括阀体,阀盖,阀球和阀杆,所述阀体为一体式结构
图片尺寸1483x1889
一种低温球阀的制作方法
图片尺寸698x1000
一种常用球阀结构示意图
图片尺寸320x242
一种球阀的制作方法
图片尺寸1000x605