侧面的门怎么画

钢笔画小练习|门
图片尺寸700x933
简笔画如何画侧着的门
图片尺寸750x500
门的简笔画画
图片尺寸889x500
大门简笔画大门简笔画怎么画
图片尺寸700x400
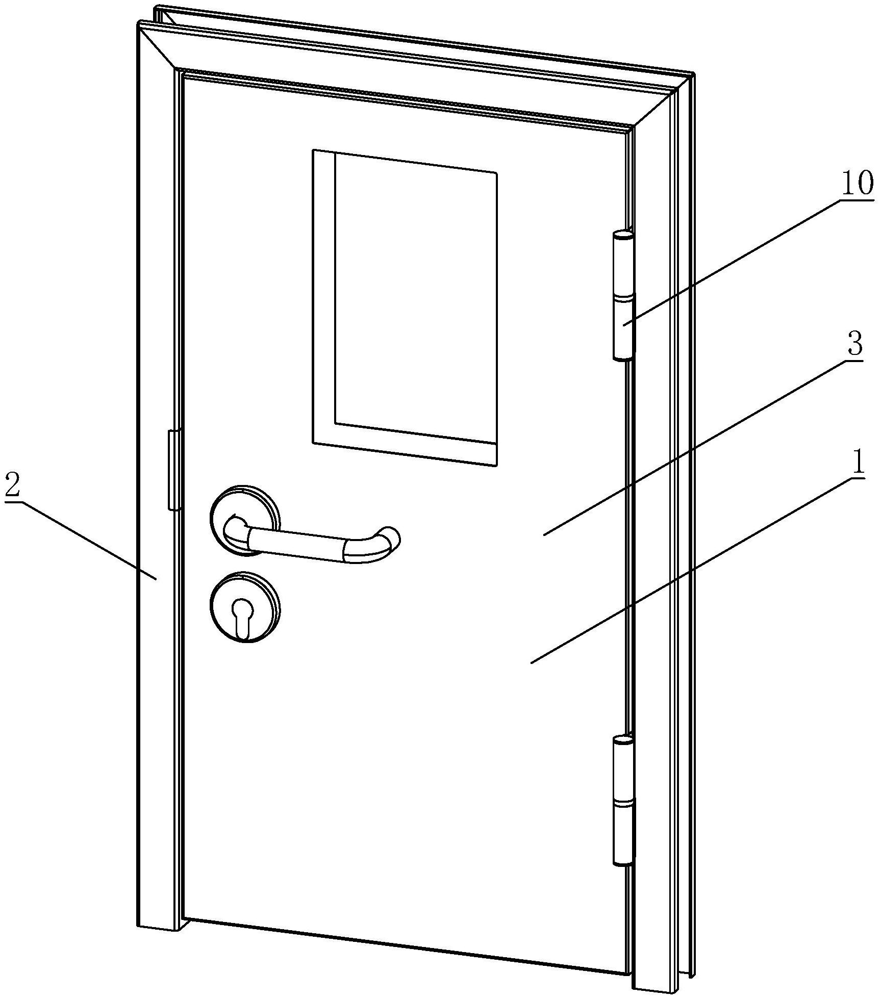
cn213540097u_一种铰链侧加强型钢质门有效
图片尺寸1727x1959
简笔画大门的画法
图片尺寸500x500
打开门简笔画
图片尺寸750x500
简单大门怎么画
图片尺寸500x395
简单带门环古代大门简笔画步骤画法彩色古代大门简笔画怎么画
图片尺寸500x260
大门怎么画
图片尺寸500x700
门简笔画门怎么画
图片尺寸800x450
门怎么画
图片尺寸500x500
黑色的轮廓门图片-黑色的轮廓门素材-黑色的轮廓门插画-摄图新视界
图片尺寸300x300
门墙壁简笔画
图片尺寸480x964
亲子一起画门简笔画
图片尺寸900x600
如何画门
图片尺寸720x480
大门简笔画大门简笔画怎么画
图片尺寸700x400
钢笔画:门~ #手绘插画教程#(作者:欧阳鹏杰-oy )
图片尺寸960x1280
门简笔画门怎么画
图片尺寸800x450
简笔画如何画侧着的门
图片尺寸600x400