保护接零图

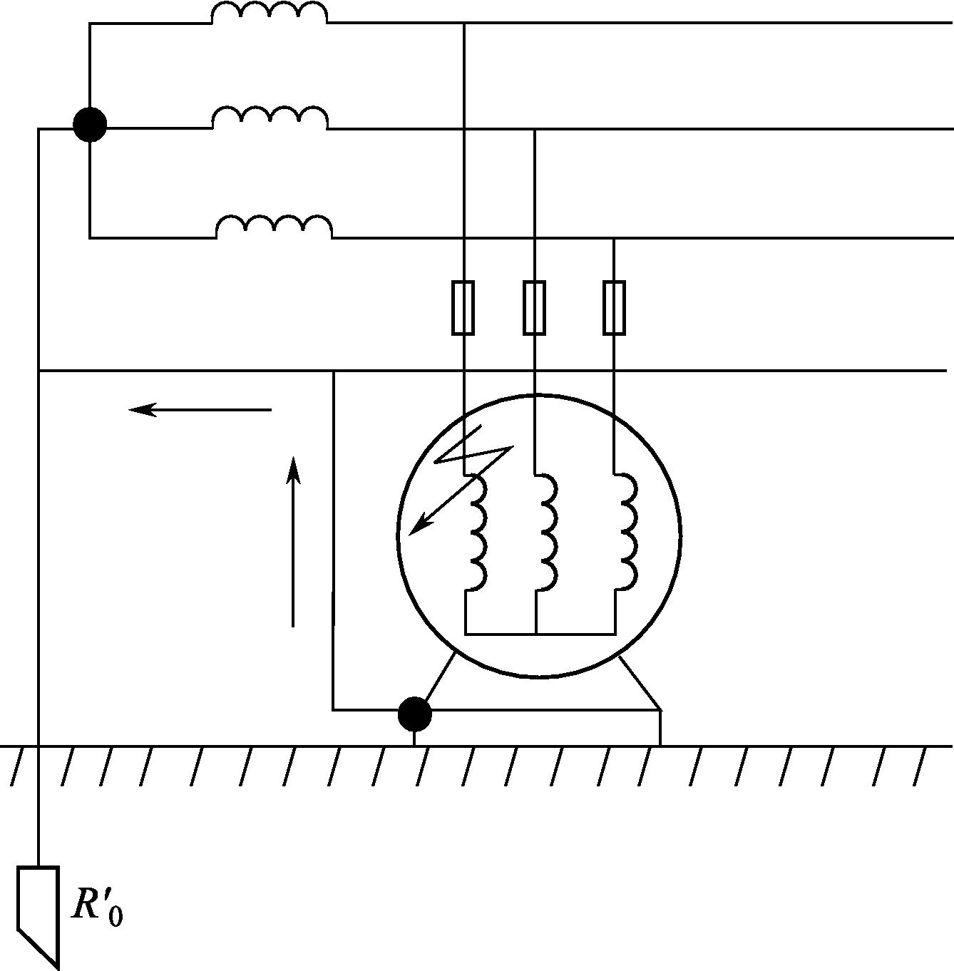
图1-12 电动机的保护接零
图片尺寸1338x1362
接零保护系统
图片尺寸1079x811
保护接零
图片尺寸273x300
09 tn-c保护接零保护
图片尺寸760x486
保护接地, 工作接地, 重复接地及保护接零示意图
图片尺寸760x572
保护接零(tn系统) l1 l2 l3 n
图片尺寸1080x810
保护接零.jpg
图片尺寸760x574![[分享]工作接地,保护接地,保护接零和重复接地](https://i.ecywang.com/upload/1/img0.baidu.com/it/u=1880360622,264587318&fm=253&fmt=auto&app=138&f=JPEG?w=623&h=500)
[分享]工作接地,保护接地,保护接零和重复接地
图片尺寸871x699
保护接零示意图
图片尺寸639x482
漏电保护器的普及使保护接零变成保护接地
图片尺寸640x537
电气设备保护接地和保护接零为什么能防止人体触电事故?电工知识
图片尺寸600x500
三相五线制接零保护示意图
图片尺寸920x690
电气的保护接地与保护接零介绍,建筑防雷布置 护保零 接电 1 机电机
图片尺寸1080x810
接零保护与接地保护有什么区别
图片尺寸640x853
金属管做保护接零
图片尺寸505x375
保护接地和保护接零区别图解
图片尺寸783x449
电气设备保护接地和保护接零为什么能防止人体触电事故?电工知识
图片尺寸600x469
2,在保护接零系统中重复接地是不可缺少的.3,要求
图片尺寸348x280
接零保护系统包括哪些?
图片尺寸640x289
高等教育 工学 安全用电与防雷接地ppt 电气的保护接地与保护接零介绍
图片尺寸1080x810