保护煤柱设计

工业广场保护煤柱留设的方法-垂直剖面法ppt
图片尺寸1080x810
各种保护煤柱设计及公式
图片尺寸920x1303
巷道保护煤柱留设宽度计算方法
图片尺寸768x595
一种减少双巷护巷煤柱尺寸及降低巷道变形量的采煤方法
图片尺寸1082x1231
保护煤柱设计
图片尺寸920x690
保护煤柱留设方法的探讨与实践
图片尺寸856x759
3-2_保护煤柱设计
图片尺寸1080x810
保护煤柱设计
图片尺寸300x225
保安矿柱的圈定
图片尺寸726x580
煤矿工业广场保护煤柱留设计算方法ppt
图片尺寸1080x810
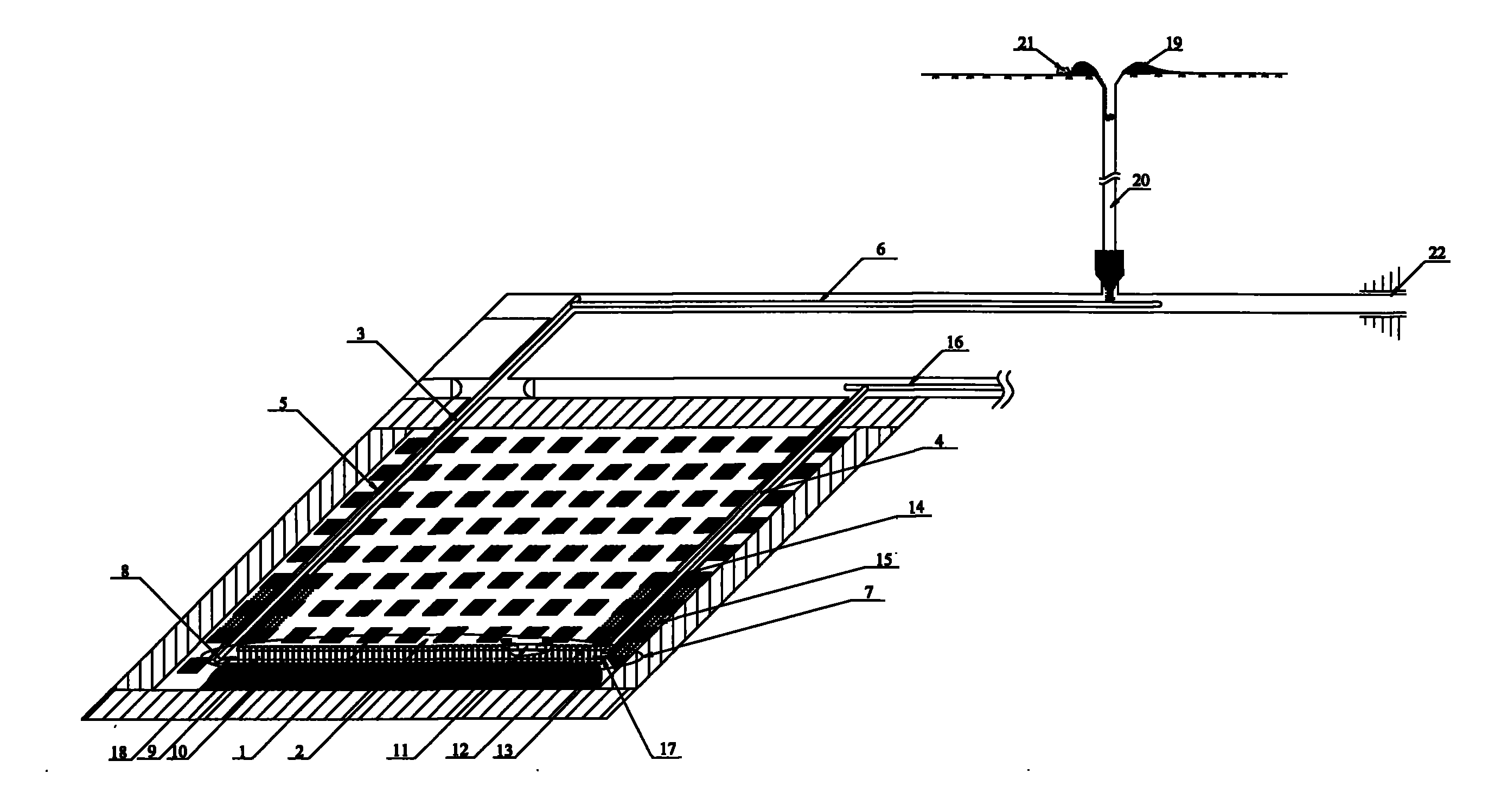
cn101725352b_一种固体充填综采回收房式煤柱方法有效
图片尺寸2756x1498
保护煤柱的设计理工大
图片尺寸920x690
开采损害与保护 mining damage and protection 第四章 保护煤柱设计
图片尺寸1080x810
在采区和带区内布置工作面时,上山和大巷两侧均需留设保护煤柱
图片尺寸1000x607
保护煤柱设计原理 移动角 h
图片尺寸1080x810
excel在龙泉煤矿保护煤柱设计中的应用
图片尺寸1410x2000
局部开采工广保护煤柱对矿井生产系统的影响分析
图片尺寸998x718
保护煤柱的设计-理工大_第5页
图片尺寸1500x1125
cn100580219c_一种煤矿井下无煤柱回收方法有效
图片尺寸1815x1253
cn202736375u_一种拱桥式充填置换回采断层保护煤柱的实验模型失效
图片尺寸1000x648