保温杯内部结构

原创保温杯重金属超标变成夺命杯购买保温杯该如何擦亮眼睛
图片尺寸1522x879
和热水瓶一样,不锈钢保温杯子也是内外两层结构,中间是真空,热只能
图片尺寸1274x754
养生用的保温杯如何选还有6款户外人喜爱的保温杯推荐
图片尺寸1200x712
一种自带药盒的保温杯
图片尺寸738x1000
虎牌保温杯
图片尺寸1080x1439
基本上一个好的保温杯其保温效果能达到8至10小时,其内部结构和热水瓶
图片尺寸500x524
一种具有抗菌杀菌功能的陶瓷内胆保温杯
图片尺寸1357x834
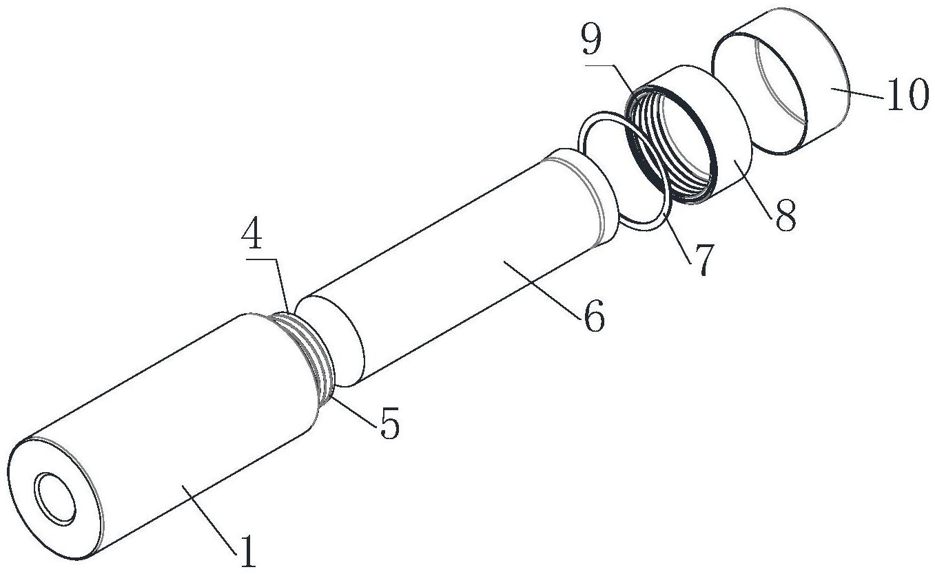
一种密封效果好的保温杯的制作方法
图片尺寸789x1000
内部结构
图片尺寸116x250
一种防烫分层保温杯
图片尺寸443x386
本专利技术提供了一种便携式茶水分离保温杯,能够在茶杯内部实现茶叶
图片尺寸971x1000
原创精细保温杯内部结构爆炸图犀牛模型3d模型obj模型版权可商用
图片尺寸1024x1780
保温杯
图片尺寸1943x2004
大嘴猴paulfrank创意男女朋友女生实用生日礼物316奥氏不锈钢保温杯
图片尺寸990x933
保温杯为何变爆炸杯有女孩眼球被炸破裂有人天花板被炸了个洞
图片尺寸660x377
其主要通过在杯体内部设置保温层降低杯子内热饮的热量散失和辐射速率
图片尺寸908x1000
小米mi生态米家同款国风316不锈钢保温杯礼盒高档女茶水分离泡茶杯子
图片尺寸1500x2322
西安亚锐158新款儿童壶 子弹头保温杯 子弹头保温壶 可oem贴牌
图片尺寸749x547
一款可以保鲜的纯钛保温杯
图片尺寸640x611
绿珠lvzhu 500ml食品级304不锈钢材质情侣风格真空保温杯 带茶隔泡茶
图片尺寸750x610