保温杯盖结构

一种新结构保温杯盖的制作方法
图片尺寸1540x2333
保温杯杯盖拆卸及组装图
图片尺寸920x1302
钮翻盖保温杯盖,是针对解决现有同类产品结构设计欠佳导致密封性欠佳
图片尺寸1067x1596
保温杯的盖组件-爱企查
图片尺寸1293x1162
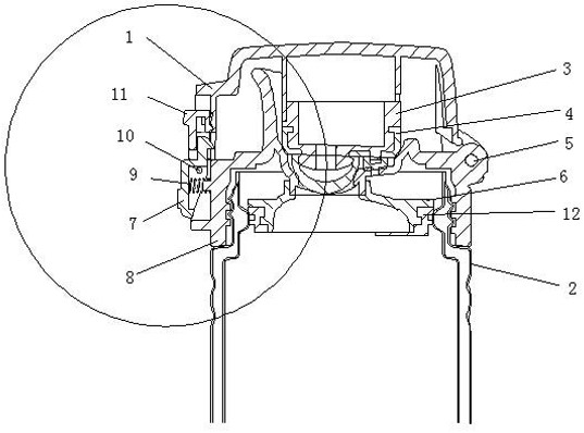
一种保温杯杯盖结构的制作方法
图片尺寸708x1000
按式保温杯盖子组装图详实参照
图片尺寸920x1302
设置开关组件的保温杯杯盖,其杯盖主体基本是采用塑料注塑成型结构,或
图片尺寸443x378
一种新型保温杯弹盖自锁机构-爱企查
图片尺寸537x398
一种保温杯盖的制作方法
图片尺寸875x1000
【拆解】按压杯盖结构拆解
图片尺寸1000x625
背景技术:由于目前的保温杯结构简单,安全性不高,存在杂乱用杯现象
图片尺寸684x1000
一种按压式儿童保温杯盖的制作方法
图片尺寸1000x796
一种旋档保温杯盖的制作方法
图片尺寸443x333
一种便携式保温杯盖的制作方法
图片尺寸324x443
一种能快速开合的杯盖及保温杯的制作方法
图片尺寸267x444
该保温杯盖包括外盖和内盖,所述外盖的口部内侧固定设置有带倒刺结构
图片尺寸1000x524
保温杯盖设计(带内部结构)
图片尺寸303x414
一种可定量饮水的防烫嘴保温杯盖
图片尺寸915x1000
一种保温杯盖的制作方法
图片尺寸1000x598
一种保温杯盖的制作方法
图片尺寸1000x784