倍力气缸原理图

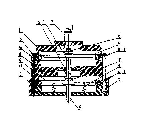
一种紧凑型多位置倍力缸
图片尺寸1000x322
一种紧凑型多位置倍力缸制造技术,紧凑型气缸专利_技高网
图片尺寸1000x329
std倍力气缸内部结构分解图
图片尺寸730x627
upbl倍力气缸
图片尺寸2299x3087
玖容倍力气缸工作原理图
图片尺寸920x1302
修毛边倍力气缸 玖容成型倍力气缸 在线咨询 上海倍力气缸
图片尺寸480x393
人们为了减小气缸与液压缸,特别是气缸的径向尺寸,会选择采用倍力缸
图片尺寸1000x711
热流道双倍力气缸的制作方法
图片尺寸1000x559
cn2445125y_倍力式薄膜气缸失效
图片尺寸608x543
倍力式薄膜气缸-爱企查
图片尺寸608x543
热流道双倍力气缸制造技术
图片尺寸1000x980
久力带你了解倍力气缸,小白不再迷茫!
图片尺寸363x253
倍力气缸用什么类型电磁阀控制?
图片尺寸700x726
台湾森拓气液增压缸多倍力气缸厂家直销解决有关出力问题
图片尺寸350x350
双作用液压缸的工作原理与结构
图片尺寸1304x634
不同种类的气缸工作原理详细介绍
图片尺寸602x350
气液增压缸
图片尺寸754x480
tunkers气缸特点1,带曲柄连杆机构的一体式夹紧器(肘形原理)2,自锁
图片尺寸556x481
smc双作用气缸原理smc代理
图片尺寸1394x1147
只不过是换向阀的控制是靠气缸杆来回运动时拨动. 加上个原理图啦.
图片尺寸2480x3508