倒扣模具示意图

整圈内侧倒扣注塑模具设计
图片尺寸659x662
一种倒扣注塑模具的制作方法
图片尺寸1000x791
一种全周倒扣产品脱模用注塑模具
图片尺寸1550x1882
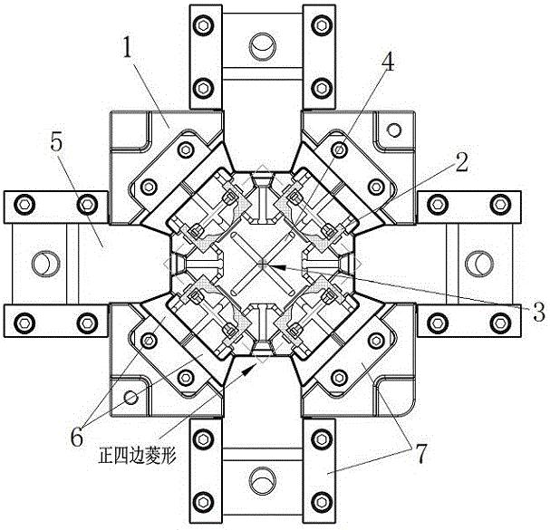
戴森机构件内倒扣模具
图片尺寸686x695
一种双倒扣塑胶件的注塑模具
图片尺寸1000x829
老外设计的倒扣脱模形式,简单实用还是失败的设计大家进来pp 塑胶模具
图片尺寸266x311
一套经典内倒扣模具结构
图片尺寸1080x569
中模头条 模具技术 模具设计图5 6,倒扣4与倒扣7确定用滑块5与滑块6出
图片尺寸739x475
一种带有联动式倒扣脱模机构的注塑模具
图片尺寸2163x1741
cn210026104u_两端倒扣塑件注塑模具一出四结构有效
图片尺寸607x585
一套经典内倒扣模具结构
图片尺寸825x627
产品冬菇头倒扣二次强脱机构模具结构分析与说明
图片尺寸923x641
一种带花键脱螺纹同时强脱倒扣出模结构的模具
图片尺寸1839x1324
两端倒扣塑件注塑模具一出四结构的制作方法
图片尺寸607x585
瓶盖防盗环二次顶出强脱螺纹倒扣
图片尺寸677x726
全倒扣零件的内缩模具设计
图片尺寸607x484
一种倒扣产品的二次顶出注塑模具的制作方法
图片尺寸1000x946
01 简单斜顶设计要点: 模具设计中产品的内部简单的倒扣按照正常的
图片尺寸640x403
适用于塑胶模具中必不可少的双向倒扣结构设计
图片尺寸640x408
模具设计复杂卡扣倒扣结构分析
图片尺寸750x445