倒挡器原理图

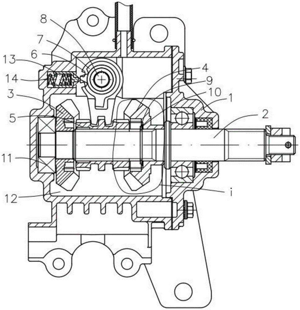
一种三轮摩托车倒挡器
图片尺寸968x1000
三轮摩托车前加力倒档器
图片尺寸1893x1794
规范换挡操作是什么 变速示工作示意图 倒档为直齿结构,无单独同步器
图片尺寸400x330
变速示工作示意图(gif) 倒档原理 倒档为直齿结构,无单独同步器
图片尺寸620x323
cn206679189u_一种三轮摩托车单踏板增力倒档器有效
图片尺寸1000x840
一种三轮摩托车单踏板增力倒档器的传动机构
图片尺寸1021x811
一种三轮摩托车单踏板增力倒档器的制作方法与工艺
图片尺寸1000x721
可以让换挡更加平顺,但是倒挡没有同步器
图片尺寸630x407
一种用于三轮摩托车上的前加力倒档器
图片尺寸409x500
本田飞度无级变速器维修 倒档动力传递流程
图片尺寸1080x810
本楼来解说一下花冠车的液压式离合器工作原理: 手动挡汽车分"拉索式
图片尺寸400x273
教学用ppt 捷达五档手动变速器动力传递路线及传动比 倒档中间 轴
图片尺寸1080x810
文档资料 汽车技术 汽车技术 当操纵手柄位于 r 位,变速器处于倒档
图片尺寸510x219
制造商在设计时都会设计一个弹簧锁销式的倒挡锁(工作原理见上图),它
图片尺寸640x336
一种三轮摩托车取力倒挡器的制作方法
图片尺寸1000x569
倒档挂不进去但松离合再踩就能挂上了原来是这个齿轮搞的鬼
图片尺寸640x433
一种斜齿带同步器结构的倒档机构的制作方法
图片尺寸443x252
详解汽车自动变速器分类及结构原理
图片尺寸1414x927
对照传动结构图,倒档由4档离合器输入动力,并由选档拨叉切换传动路径
图片尺寸1813x1704
所以,汽车在倒挡行驶时,由于驱动桥里面的主减速器齿轮啮合的并不是
图片尺寸579x328