倒装led芯片结构

倒装led芯片
图片尺寸517x343
薄膜倒装led芯片结构示意图
图片尺寸452x315
图8 倒装led芯片在fpc上的剖图
图片尺寸561x239
3)方向三"倒装芯片 覆晶焊"工艺一旦在显示领域成熟应用,则为 led
图片尺寸611x325
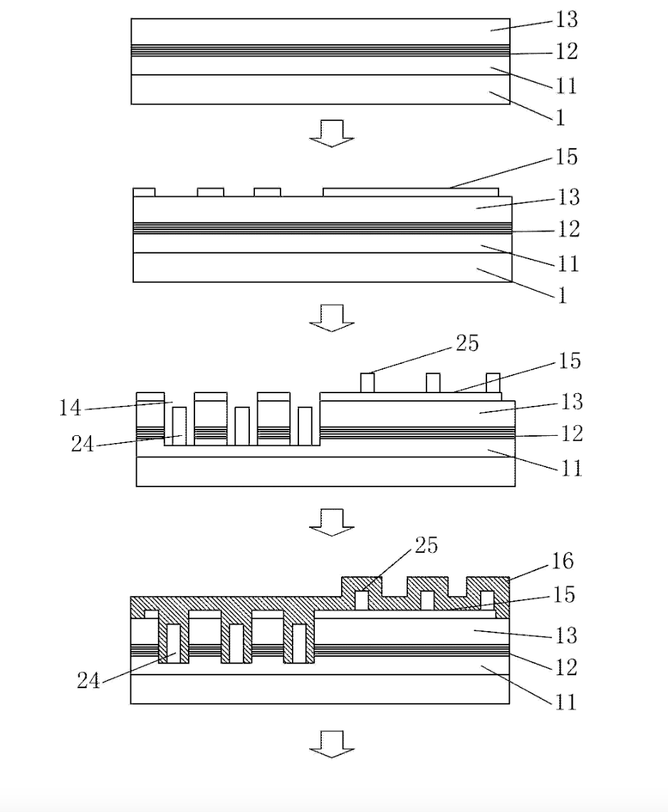
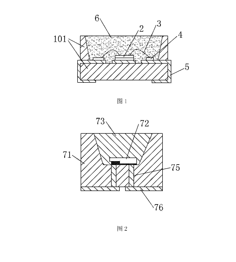
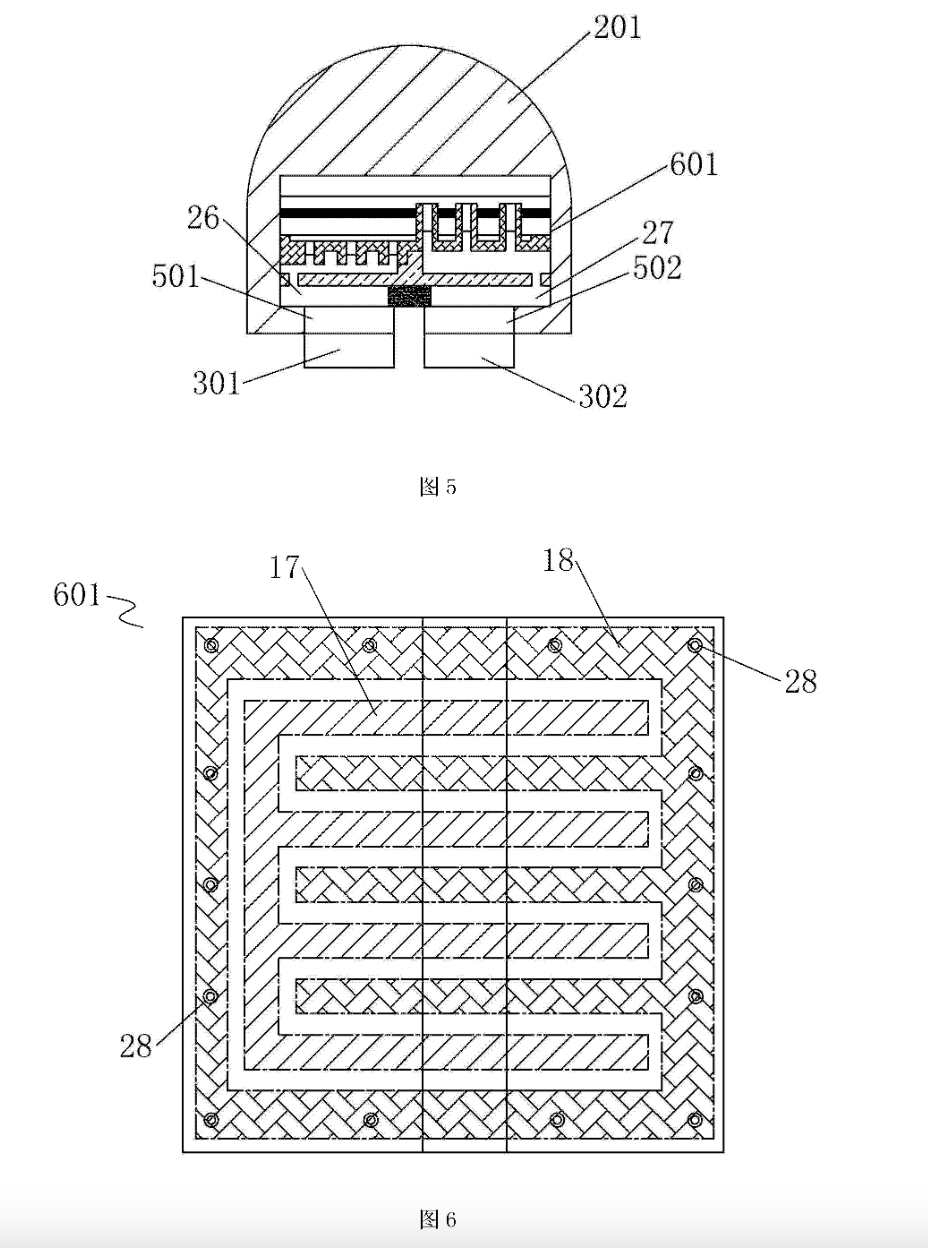
led倒装芯片封装器件,其制造方法及使用其的封装结构
图片尺寸928x1248
led倒装制程介绍ppt课件
图片尺寸800x600
led倒装芯片知识全解共3页pdf
图片尺寸694x597
【led术语】倒装芯片安装(flip-chip bonding)
图片尺寸430x192
半导体"倒装芯片(fc)"封装工艺技术的详解
图片尺寸990x631
图2. 倒装led结构中dbr的"背光"作用示意图
图片尺寸489x263
上述负责人表示,华灿光电已实现中大功率倒装led芯片产业化,中功率
图片尺寸500x288
led倒装芯片封装器件,其制造方法及使用其的封装结构
图片尺寸950x948
led芯片的三种封装结构(正装,垂直,倒装)有什么区别-泰克光电
图片尺寸864x486
led倒装芯片封装器件,其制造方法及使用其的封装结构
图片尺寸986x1096
全倒装led显示面板技术领创者
图片尺寸650x526
led倒装芯片封装器件,其制造方法及使用其的封装结构
图片尺寸938x1140
led倒装芯片覆晶封装光源产品和技术.(煜珑电子.赵强).pdf
图片尺寸792x594
无忧文档 所有分类 工程科技 电子/电路 倒装芯片介绍led倒装芯片工艺
图片尺寸1080x810
倒装芯片清洗选项(上)_溶剂_清洁_系统
图片尺寸1200x798
倒装led芯片
图片尺寸606x463