偏心半球阀结构

pq偏心半球阀工作原理,结构特点,分类和选型
图片尺寸640x360
pq偏心半球阀工作原理,结构特点,分类和选型
图片尺寸640x360
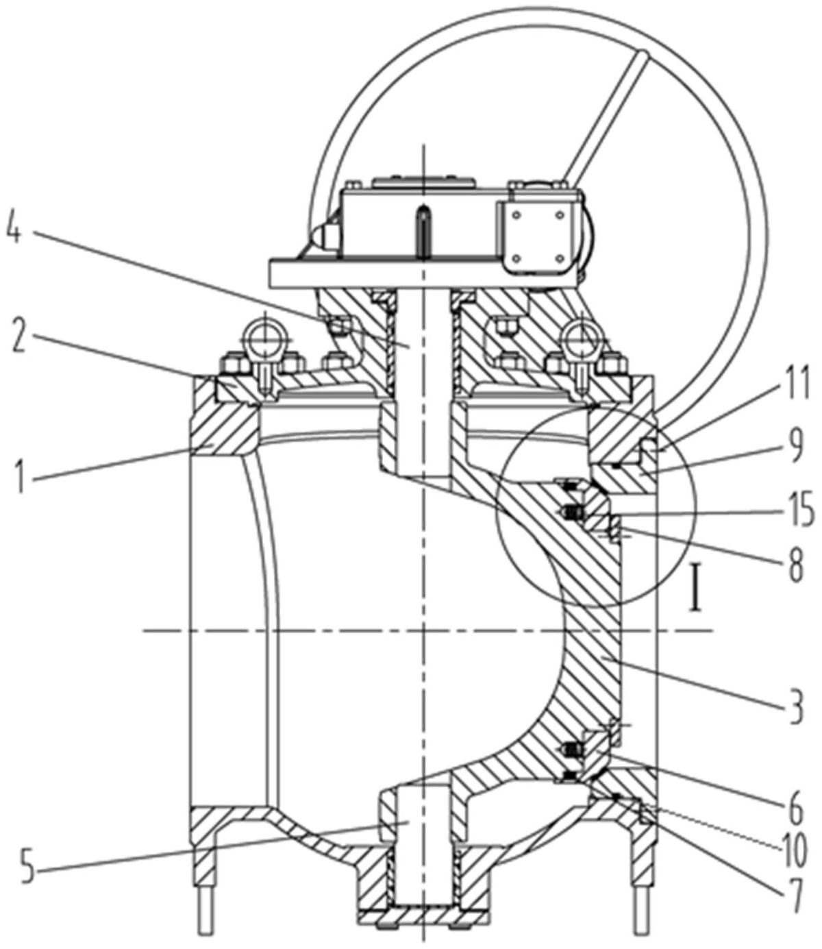
具有软硬双重密封的偏心半球阀
图片尺寸1686x2350
dn300偏心半球阀
图片尺寸503x538
上装式偏心半球阀结构图
图片尺寸640x360
偏心半球阀是一种比较新型的球阀类别,它有着自身结构所独有的一些
图片尺寸1501x1642
一种偏心半球阀的制作方法
图片尺寸655x1000
pq偏心半球阀工作原理,结构特点,分类和选型
图片尺寸640x360
厂家供应全通径偏心半球阀pbq340f
图片尺寸537x449
v】型球阀结构图上装式偏心半球阀结构图
图片尺寸660x372
双偏心半球球阀结构长度,阀兰尺寸
图片尺寸600x887
pq40f-10 16 25 q球墨铸铁手动偏心半球阀结构:(图)pq40f-10 16 25 q
图片尺寸3433x2405
手动涡轮上装式半球型偏心球阀500q340h16c
图片尺寸685x567
偏心半球阀结构图 主要零件材料及适用工况
图片尺寸755x444
上装式偏心半球阀-结构图片
图片尺寸510x369
hg化工部偏心半球阀技术规范
图片尺寸800x984
一种双向承压硬密封偏心半球阀
图片尺寸1200x1385
pq340f球墨铸铁蜗轮偏心半球阀结构图.png
图片尺寸533x407
侧装式偏心半球阀结构图
图片尺寸492x315
偏心半球阀结构示意图
图片尺寸455x482