偏心半球阀结构图

pq947h型电动偏心半球阀说明书
图片尺寸454x456
偏心半球阀结构图 主要零件材料及适用工况
图片尺寸755x444
气动偏心半球阀
图片尺寸348x350
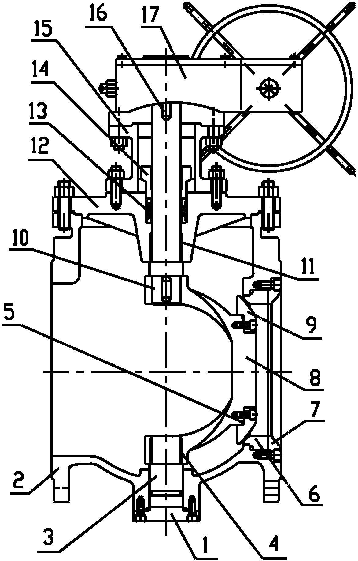
pq40f球墨铸铁手动偏心半球阀结构图:.jpg
图片尺寸3433x2405
一种易固化介质用偏心半球阀制造技术
图片尺寸758x1000
一种偏心半球阀的制作方法
图片尺寸655x1000
双偏心式半球阀是近年来开发的高新技术产品,以其设计合理,结构独特
图片尺寸628x377
一种易固化介质用偏心半球阀
图片尺寸1018x1356
cn206449242u_一种偏心半球阀有效
图片尺寸1000x973
pq340f球墨铸铁蜗轮偏心半球阀结构图.png
图片尺寸533x407
上装式偏心半球阀-结构图片
图片尺寸510x369
dn600pn16偏心半球阀
图片尺寸669x474
cn204755991u_上装式偏心半球阀有效
图片尺寸1171x1832
pq940f/h电动侧装式偏心半球阀-环保在线
图片尺寸514x329
一种双向承压硬密封偏心半球阀
图片尺寸1200x1385
偏心半球阀
图片尺寸455x482
cn203614790u_一种全通径上装式偏心半球阀有效
图片尺寸898x1000
背景技术:现有技术中,偏心半球阀结构主要有软密封偏心半球阀和硬密封
图片尺寸867x1000
侧装偏心半球阀
图片尺寸366x291
偏心半球阀结构图
图片尺寸322x376