偏心半球阀 结构

气动偏心半球阀
图片尺寸348x350
偏心半球阀结构图 主要零件材料及适用工况
图片尺寸755x444
上装式偏心半球阀
图片尺寸1096x1505
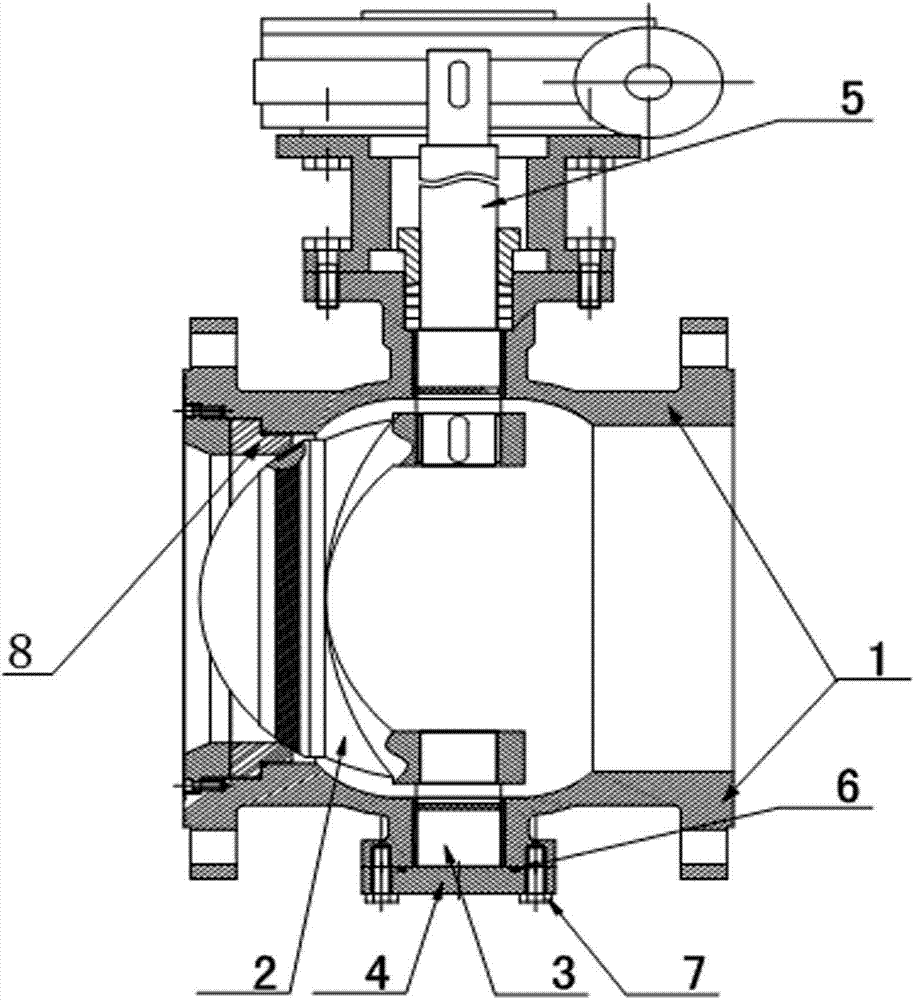
一种易固化介质用偏心半球阀
图片尺寸1018x1356
一种偏心半球阀的制作方法
图片尺寸655x1000
pq40f球墨铸铁手动偏心半球阀结构图:.jpg
图片尺寸3433x2405
pq340f球墨铸铁蜗轮偏心半球阀结构图.png
图片尺寸533x407
pq940f/h电动侧装式偏心半球阀-环保在线
图片尺寸514x329
上装式偏心半球阀-结构图片
图片尺寸510x369
精小型电动偏心半球阀
图片尺寸358x541
pq偏心半球阀工作原理结构特点分类和选型
图片尺寸660x372
背景技术:现有技术中,偏心半球阀结构主要有软密封偏心半球阀和硬密封
图片尺寸867x1000
cn206449242u_一种偏心半球阀有效
图片尺寸1000x973
偏心半球阀使用说明书
图片尺寸1110x627
一种耐磨偏心半球阀
图片尺寸916x1000
偏心半球阀结构图
图片尺寸322x376
一种易固化介质用偏心半球阀制造技术
图片尺寸758x1000
cn206145169u_一种内置式偏心半球阀有效
图片尺寸693x1000
偏心半球阀
图片尺寸406x475
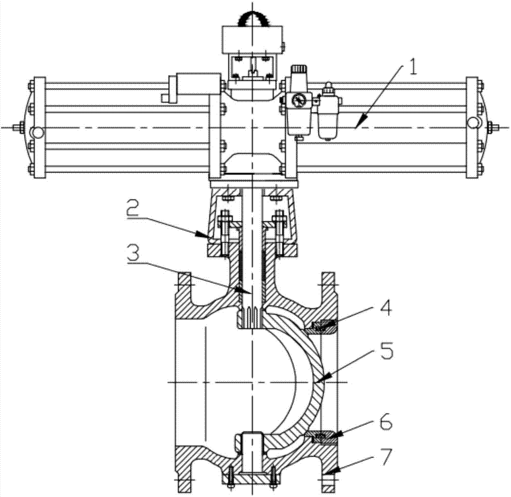
pq340f-偏心半球阀
图片尺寸1038x500