偏心套结构

偏心套零件图pdf
图片尺寸800x566
a4偏心套pdf
图片尺寸800x566
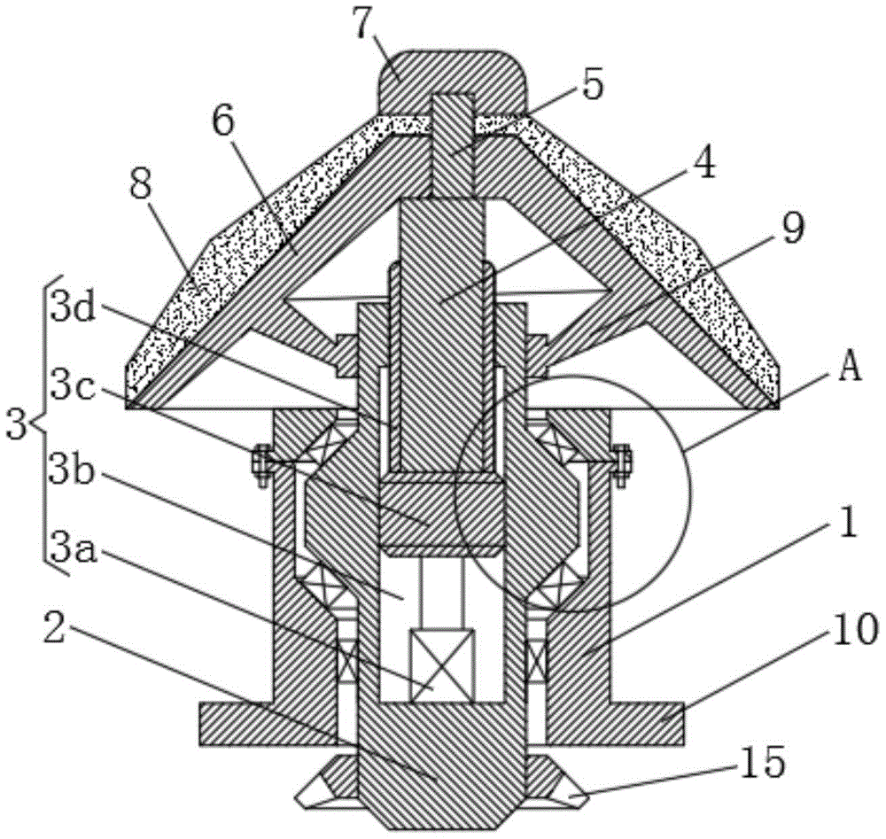
升降轴由升降驱动结构驱动,所述主轴的上端轴偏心位置固
图片尺寸1000x947
cn201807389u_一种圆锥破碎机用偏心套机构失效
图片尺寸1699x2071![【k114】偏心套 工艺规程及钻m3孔夹具设计[含高清cad图工序卡说明书]](https://i.ecywang.com/upload/1/img2.baidu.com/it/u=3344216551,1962465019&fm=253&fmt=auto&app=138&f=GIF?w=750&h=500)
【k114】偏心套 工艺规程及钻m3孔夹具设计[含高清cad图工序卡说明书]
图片尺寸1200x800
0050-偏心套的机械加工工艺规程及铣削夹具设计(全套cad图)
图片尺寸1200x800![偏心套零件的工艺及车Φ120外圆夹具设计[含高清cad图纸和文档]](https://i.ecywang.com/upload/1/img1.baidu.com/it/u=2909456215,2375094544&fm=253&fmt=auto&app=138&f=GIF?w=750&h=500)
偏心套零件的工艺及车Φ120外圆夹具设计[含高清cad图纸和文档]
图片尺寸1200x800
偏心销套结构-爱企查
图片尺寸1683x932
双偏心套
图片尺寸1080x810
夹具领域,具体结构包括夹具本体(1),安装于夹具本体(1)上的偏心法兰(2
图片尺寸449x512
cn101334003b_可调整变桨机构的偏心衬套结构及装配方法有效
图片尺寸1202x1199
偏心套
图片尺寸639x455
涉及轧机技术领域,为解决现有的轧机偏心套机构,其稳定结构单一,导致
图片尺寸800x700
一种圆锥破碎机偏心套加工工装-爱企查
图片尺寸1567x1379
偏心套精车Φ185mm端面工艺及工装设计
图片尺寸820x579
一种偏心复合缓冲套结构-爱企查
图片尺寸800x585
1. 偏心轴套调整法 图1所示为最简单的偏心轴套式消隙结构
图片尺寸453x418
滚齿机小托座偏心套调整结构制造技术
图片尺寸1000x810
常州机电优秀毕业设计-偏心套加工工艺及夹具设计【磨60外圆及端面
图片尺寸1200x800
偏心轴套
图片尺寸820x525