偏心轴安装及图解

设计基础课件第12章ppt §12-1 概述 轴是机器中最重要的零件之一
图片尺寸1080x810
偏心件的安装车削方法
图片尺寸1080x430
日本newstar新星偏心门轴8
图片尺寸600x435
偏心轴如何加工才能保证精度
图片尺寸1459x915
偏心轴
图片尺寸830x654
a2偏心轴pdf
图片尺寸800x566
一种高铁车轮轧机偏心轴安装工装及安装方法与流程
图片尺寸444x368
该结构电机通过高扭矩同步带带动偏心轴,再通过偏心轴另一端由高扭矩
图片尺寸411x399
三爪卡盘装夹车削偏心轴ppt
图片尺寸1080x810
供allegion安朗杰ives 7226偏心轴门轴中心轴防火门轴【ul认证】
图片尺寸1177x549
机械工艺夹具毕业设计147结晶器振动装置偏心轴加工工艺及夹具设计
图片尺寸1113x450
a3-偏心轴.dwg
图片尺寸1200x800
偏心轴
图片尺寸700x490
偏心轴
图片尺寸1004x634
安装结构图颚式破碎机上装有两对轴承:1 ,一对轴承装在机架与偏心轴
图片尺寸500x256
柱塞式隔膜泵偏心轴总成的制作方法
图片尺寸1000x760
调心滚子轴承产生偏载的原因及解决方法
图片尺寸540x419
偏心轴加工工艺设计机械资料(带cad图)
图片尺寸366x594
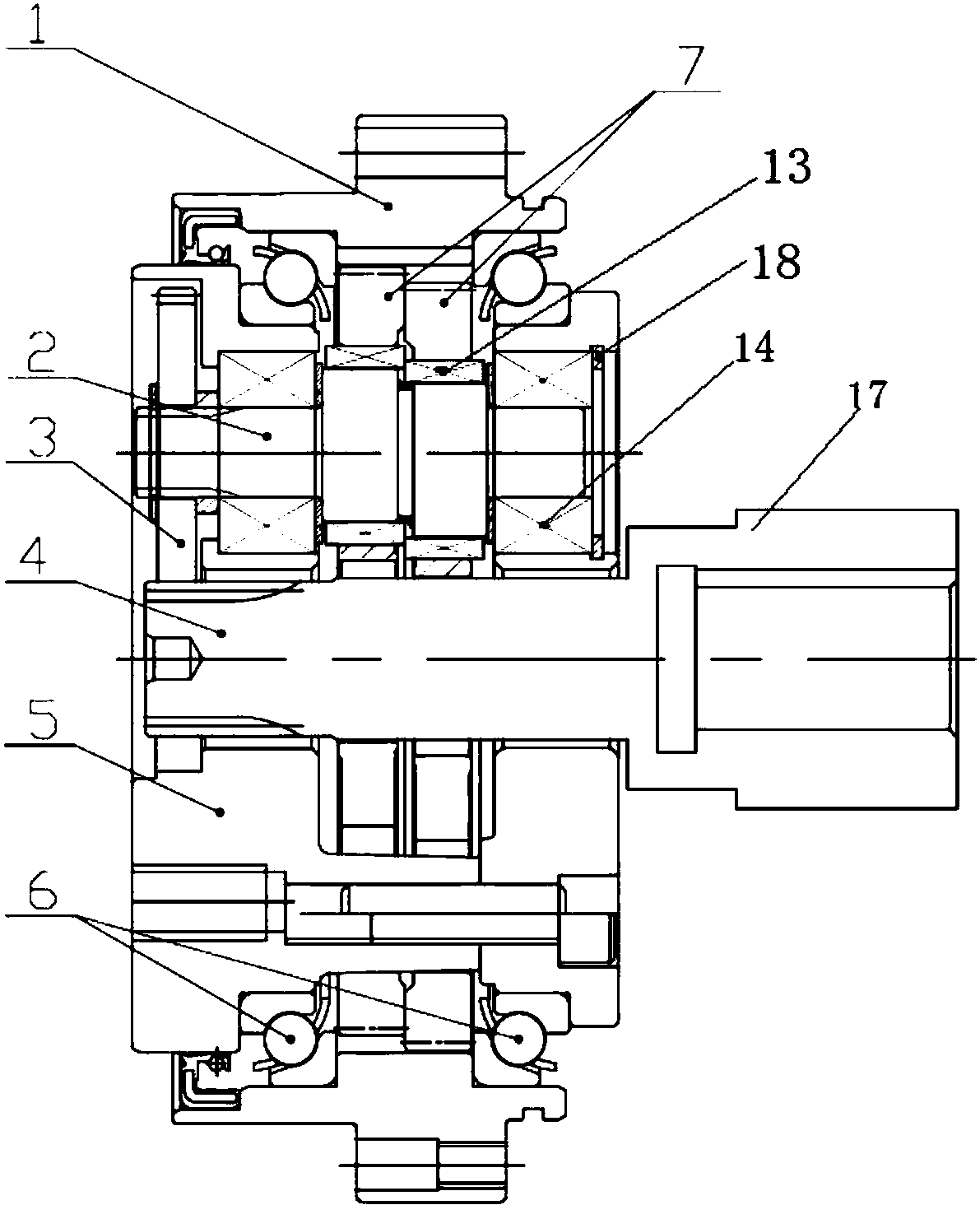
cn108799316a_一种rv精密减速机偏心轴及精密减速机
图片尺寸1191x1464
偏心轴.dwg
图片尺寸1200x800