储氢罐 结构

空客加大在西班牙的低温储氢技术研发投入
图片尺寸1600x900
车用iv型储氢瓶内胆尼龙材料及相关厂商
图片尺寸960x578
剖析丰田燃料电池轿车mira高压储氢系统(上)
图片尺寸906x648
一种基于高压密封钢圈密封的高压储氢罐
图片尺寸510x379
一种新型碳纤维储氢罐的制作方法
图片尺寸444x383
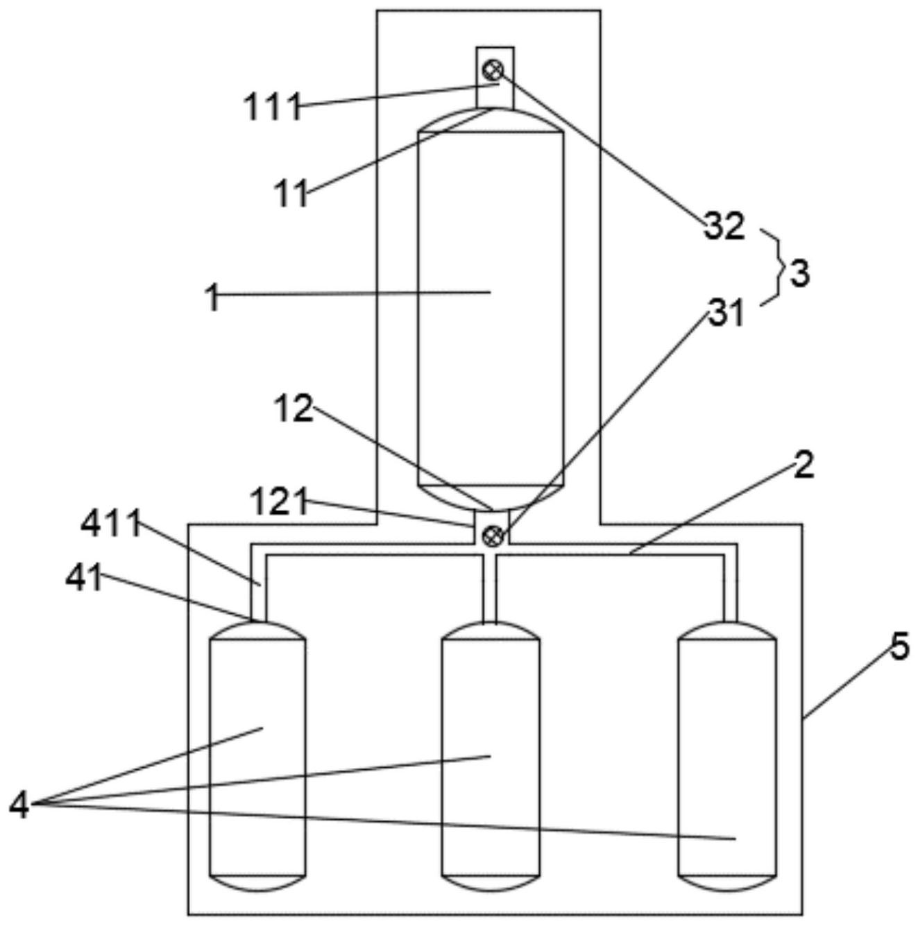
一种氢能汽车专用的集成式储氢罐
图片尺寸1323x1335
一种用于镁基储氢的固态储氢罐
图片尺寸1394x2391
cn113137560a_一种用于氢气的储氢罐结构
图片尺寸993x1347
一种固态储氢罐的制作方法
图片尺寸443x367
通过优化结构设计最大程度减小储存,转注时液氢/液氦的损失
图片尺寸1838x1202
一种扩散式储氢瓶的制作方法
图片尺寸545x1043
一种车载氢燃料电池用储氢罐结构的制作方法
图片尺寸674x1000
金属氢化物储氢罐的制作方法
图片尺寸311x444
一种带有排气冷能利用的低温液氢储罐的制作方法
图片尺寸897x1000
氢能产业链之储氢产业分析:储氢发展适度超前,高压储氢优先实现
图片尺寸1080x475
一种具备高稳定型的金属储氢罐的制作方法
图片尺寸258x444
一种储氢装置,氢气储运系统及加氢,放氢方法,其中,储氢装置包括储氢罐
图片尺寸1849x679
高压储氢瓶结构与成本分析
图片尺寸1011x705
山东中杰特装5200立方氢气储罐厂家产量属企业
图片尺寸800x567
cn200975600y_一种填装氢气吸附材料的储氢罐失效
图片尺寸1704x2510