储纱器电路图

129细纱机电路图
图片尺寸1124x800
129细纱机电路图
图片尺寸1124x766
数控细纱机
图片尺寸2304x1472
一种针织圆形纬编机用储纱器的制作方法
图片尺寸1092x1242
无忧文档 所有分类 工程科技 电子/电路 液位自动控制器电路图 当储液
图片尺寸562x487
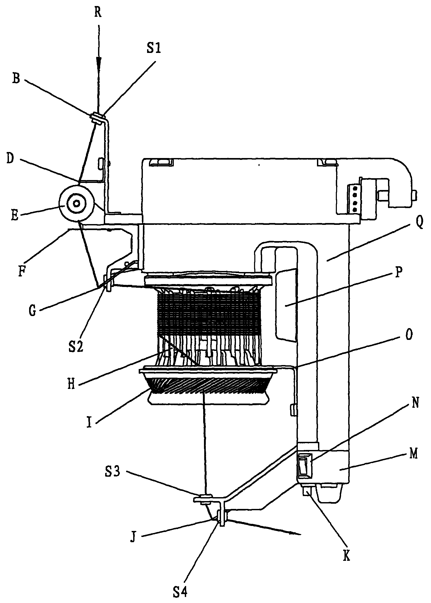
包括机架,驱动电机,连接轴,储纱鼓和开关,所述机架的左侧连接有固定块
图片尺寸1459x1185
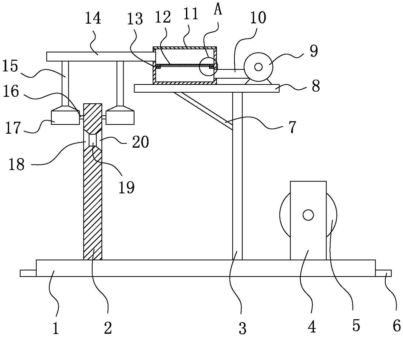
一种便于拆卸的纺纱机储纱器的制作方法
图片尺寸1000x514
储能回路电气原理图
图片尺寸1080x657
cn102443960b_横编机中的纱线长度控制装置和控制方法有效
图片尺寸1000x650
一种碳纤维罐体缠绕机的恒张力储纱补偿装置制造方法及图纸
图片尺寸764x1000
艾默生td3300变频器在分纱落筒机上的应用
图片尺寸554x791
cn1304660c_单锭驱动式捻纱加工机失效
图片尺寸1436x1220
其中该送纱器在本体下部设有一由驱动器驱动的储纱轮,储纱轮外周分布
图片尺寸1644x2301
储水式电热水器电路图讲解
图片尺寸617x505
断纱信号发生器原理图
图片尺寸338x378
一款储水式电热水器电路图
图片尺寸414x316
电子清纱器检测头的制作方法
图片尺寸1000x902
一种纺织整经机的储纱装置
图片尺寸1611x1354
储热式电暖气电路原理分析
图片尺寸674x488
空心斜轴,上盖板,入纱张力器,断纱停织机开关,电机控制电路板及储纱量
图片尺寸1417x1243