储罐平面图

一种不锈钢储罐的制作方法
图片尺寸823x1000
31m3液氨储罐设计(卧式)
图片尺寸1728x1080
液氨储罐设计参考图
图片尺寸920x1302
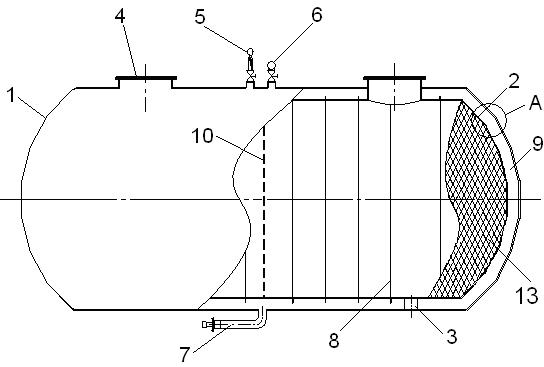
一种高温碱液储罐
图片尺寸1750x2018
为什么钢衬塑储罐是98%浓硫酸的最佳选择?
图片尺寸993x482
液化石油气储罐--50立方地埋
图片尺寸2500x3540
30立方米卧式储罐
图片尺寸1600x1280
储罐cad图
图片尺寸1726x2443
1m3卧式储气罐图纸
图片尺寸2077x1503
5立 储气罐的cad图纸,外形类似下图
图片尺寸439x551
卧式整体夹套储罐的制作方法
图片尺寸600x474
一种多功能沥青储罐的制作方法
图片尺寸443x393
一种干旱地区热影响小的高压储水罐
图片尺寸1970x1859
重大危险源辨识中对于储罐容积到底是怎么规定的?
图片尺寸714x414
不锈钢板式液位储料罐多用途罐储料桶
图片尺寸700x605
一氯甲烷卧式储罐v=34dn=2300,l=7400,δ=12(1)_至和网zhwtk.com
图片尺寸1200x800
雷达液位计常见测量储罐分析汇总
图片尺寸748x421
玻璃钢储罐结构图_玻璃钢格栅|玻璃钢污水处理设备|玻璃钢法兰|河北
图片尺寸511x605
一种真空阻隔防爆储罐-爱企查
图片尺寸544x367
10方钢衬塑卧式储罐
图片尺寸794x595