儿童摇摇椅简笔画

简笔画摇摇椅
图片尺寸480x270
摇椅
图片尺寸256x256
摇椅
图片尺寸256x256
摇椅孤立图标
图片尺寸1055x1200
《摇椅》#爱画画的小朋友 #黑白线描画 #因为热爱所以坚持 - 抖音
图片尺寸1918x1526
在白色背景上独立的摇椅.素描一张 i>舒 /i> i>适 /i>的椅子.
图片尺寸720x601
摇椅图标线条象征优质品质
图片尺寸1100x1100
板报网简笔画栏目为小朋友搜集整理了幼儿简笔画图片大全,儿童简笔画
图片尺寸567x567
婴儿摇椅-爱企查
图片尺寸1256x1104
摇椅黑色图标概念.摇椅平面矢量符号,符号,插图.
图片尺寸1100x1100
摇椅年龄单图标在轮廓风格
图片尺寸1100x1100
摇摇椅简笔画生活用品简笔画
图片尺寸750x500
摇摇椅
图片尺寸256x256
摇椅图标轮廓风格
图片尺寸1100x1151
摇摇椅子简笔画
图片尺寸500x598
关于立夏的简笔画怎么画
图片尺寸500x300
线条图标摇椅
图片尺寸636x636
彩网摇摇椅简笔画怎么画
图片尺寸500x500
摇椅细线图标凳
图片尺寸1100x1100
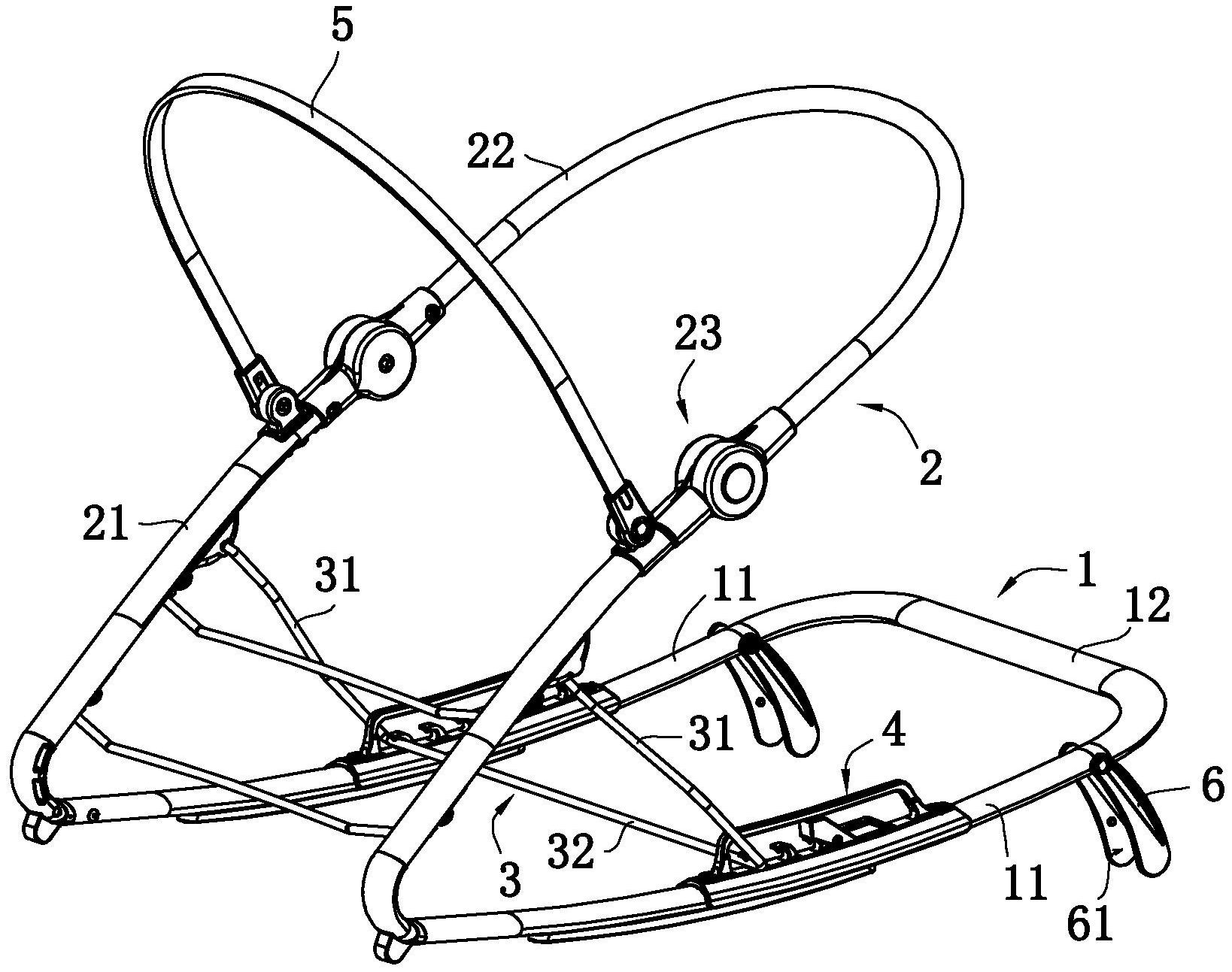
一种儿童摇椅-爱企查
图片尺寸1638x1293