元宝机折角不齐

腾拓小型全自动元宝折叠机 新型数控元宝机家用叠元宝机器折金元宝机
图片尺寸900x1200
全自动元宝机 江浙沪折小角元宝机 叠铅锡箔纸元宝鼓扁两用元宝机
图片尺寸800x800
鼓扁两用折元宝机元宝机器 数控元宝折叠机
图片尺寸720x953
全自动元宝机数控元宝机小型元宝机
图片尺寸1080x1920
大号19x21机折半成品切角金元宝 金银纸祭祀祭祖法事还债大元宝
图片尺寸540x960
做元宝的机器小型元宝机,元宝折叠机
图片尺寸440x608
元宝机,叠元宝机,数控元宝机
图片尺寸640x1138
13515半成品元宝机
图片尺寸720x960
元宝机元宝折叠机半成品元宝机河南的大号半成品元宝机
图片尺寸720x954
折元宝机金克子机器折元宝机尚达机械折叠机优质商家
图片尺寸500x500
得荣折金箔纸元宝机厂家
图片尺寸900x1600
机折纸元宝图片
图片尺寸800x320
高效率自动元宝机元宝机尚达机械元宝折纸机
图片尺寸500x500
元宝销售商电压:220v用途:叠元宝别称:折元宝机类型:自动材料:不锈钢
图片尺寸750x750
金银纸元宝折叠机 数控全自动元宝机 两用叠元宝机器 元宝折叠机
图片尺寸750x750
厂家直销 锡箔双折角 正反面收宝 江浙地区通用元宝机
图片尺寸750x750
半成品金元宝烧纸冥币大号印字机折元宝12*15 佛教祭祀用品32000
图片尺寸295x300
锡箔双折角元宝机 元宝机价格咨询常隆 山东元宝机价格
图片尺寸750x750
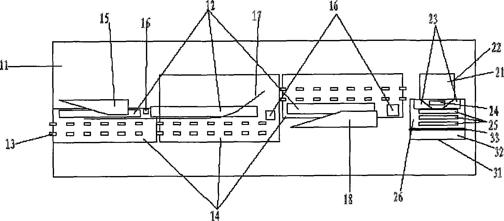
折纸元宝机-爱企查
图片尺寸1623x713
尚达机械折纸机元宝机金银纸数控元宝机
图片尺寸500x500