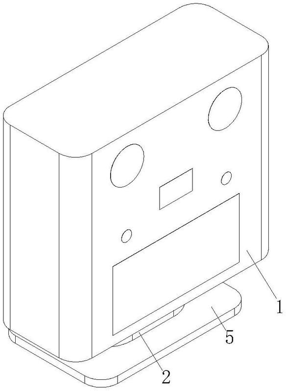
充气箱的结构图

一种带有清灰孔的水泥仓充气箱的制作方法
图片尺寸444x374
一种易于操作的充气箱安装结构-爱企查
图片尺寸584x800
一种充气柜的制作方法
图片尺寸858x1000
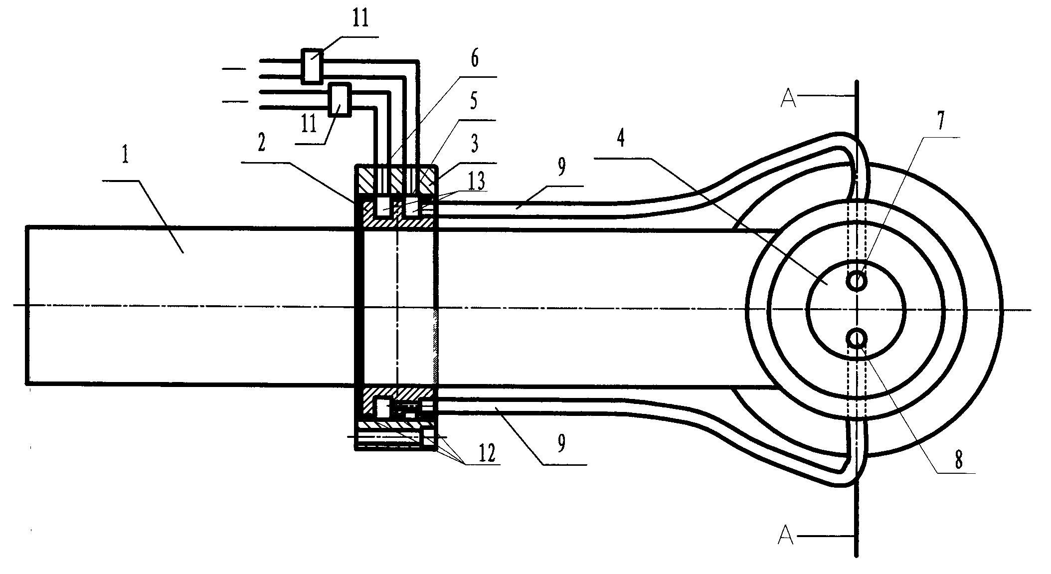
充气柜用散热装置,包括与母线室外侧气箱连通的上散热装置和与断路器
图片尺寸1248x1603
一种电缆后接式充气柜
图片尺寸1441x2199
一种充气柜三工位操作机构-爱企查
图片尺寸800x603
一种双通道充气装置-爱企查
图片尺寸2108x1151
一种快速充气装置-爱企查
图片尺寸1389x2287
cn212941282u_一种篮球便携式充气装置有效
图片尺寸1223x2144
上海力康全色彩tft液晶屏hf100-01l三气培养箱
图片尺寸401x297
zdgk12系列充气柜
图片尺寸830x1084
一种充气制品的充气结构的制作方法
图片尺寸1000x638
一种便于移动的充气柜的制作方法
图片尺寸927x1000
一种10kv环保充气柜高可靠性机构联锁装置及其使用方法
图片尺寸317x443
一种运用于充气柜气箱拼焊的柔性焊接工装平台
图片尺寸800x716
mf库,该库的库底分10~16个区,每个区设2~3条带空气箱上加盖板的卸料槽
图片尺寸476x320
一种左右侧进出线的充气柜结构制造技术
图片尺寸756x1000
一种nbiot燃气楼栋调压箱
图片尺寸1911x1884
一种新能源汽车用轮胎充气装置的制作方法
图片尺寸443x401
一种具有干燥结构的环保充气柜的制作方法
图片尺寸1000x914