充气结构

什么是充气膜结构实现传统建筑无法达到的曲线与柔性姿态
图片尺寸662x408
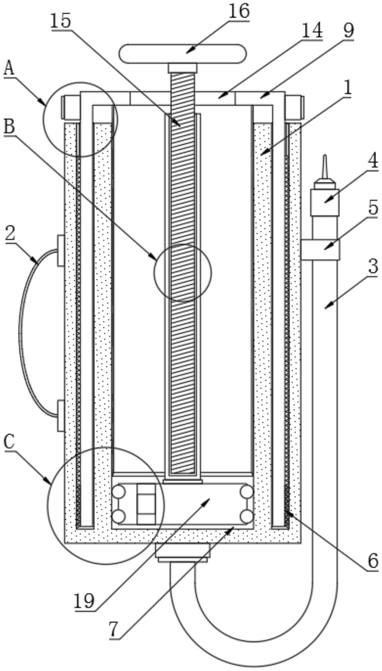
cn212941282u_一种篮球便携式充气装置有效
图片尺寸1223x2144
一种充气制品的充气结构的制作方法
图片尺寸1000x638
充气膜结构有什么样的技术特点
图片尺寸800x426
猎户座一代充气缓冲结构设计
图片尺寸550x280
充气膜体育馆的具体价格是多少
图片尺寸1240x870
膜结构充气膜
图片尺寸450x338![[分享]充气膜结构设计中会遇到哪些问题?](https://i.ecywang.com/upload/1/img2.baidu.com/it/u=484768641,2861031228&fm=253&fmt=auto&app=138&f=JPEG?w=533&h=323)
[分享]充气膜结构设计中会遇到哪些问题?
图片尺寸561x340
我们常说的的充气膜结构一般指气承式膜结构(air-supportedmembrane
图片尺寸1039x565
充气膜结构主要有哪些种类
图片尺寸652x371
ptfe etfe膜结构,充气膜结构
图片尺寸622x267
一种充气结构的冲浪板-爱企查
图片尺寸352x279
建材与装饰材料 园林设施 景观膜结构 充气膜供应产品介绍: 充气结构
图片尺寸595x332
大跨度膜结构煤棚-充气膜结构环保煤仓
图片尺寸1300x975
大型活动充气结构
图片尺寸2000x1500
充气膜结构生产厂家
图片尺寸1170x878
充气膜结构
图片尺寸3561x2380
充气膜结构
图片尺寸640x360
景秀充气膜结构.jpg
图片尺寸1200x800
充气膜结构
图片尺寸1200x1072