充气结构图片

充气结构:从地球轨道到深空探索的革命性技术
图片尺寸832x624
充气结构:从地球轨道到深空探索的革命性技术
图片尺寸832x522
气承式/气肋式管状充气膜结构原理
图片尺寸931x586
01「什么是充气膜结构?」
图片尺寸662x408
充气式设备
图片尺寸2153x1353
充气膜结构
图片尺寸600x450
充气膜结构
图片尺寸600x450
充气膜结构
图片尺寸1000x562
一种篮球充气机
图片尺寸1821x2367
充气膜结构
图片尺寸1042x625
充气膜结构
图片尺寸600x450
充气膜结构
图片尺寸600x450
充气结构:从地球轨道到深空探索的革命性技术
图片尺寸832x565
建筑梁柱隔断气袋工地混凝土浇筑水泥充气条
图片尺寸1688x3712
充气膜结构设计中会遇到哪些问题
图片尺寸561x340
充气膜结构
图片尺寸600x450
充气膜结构
图片尺寸600x450
盖上后面的充气阀romix差旅出行打开防漏气装置充气完成后效果趴着睡
图片尺寸1242x1660
充气膜结构
图片尺寸600x450
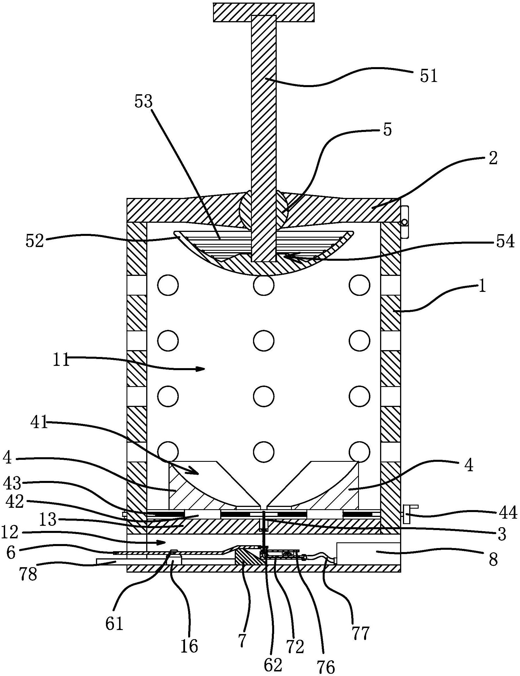
一种可充q袋的气柱充气机的制作方法
图片尺寸1694x1444