充电枪拆解图

九款新能源汽车充电枪拆解汇总
图片尺寸1422x800
拆解报告腾茂3500w新能源汽车交流充电枪
图片尺寸1024x683
九款新能源汽车充电枪拆解汇总
图片尺寸1422x800
九款新能源汽车充电枪拆解汇总
图片尺寸1199x800
拆解报告腾茂3500w新能源汽车交流充电枪
图片尺寸1024x683
拆解报告zeesung知崇2860w交流充电枪zc16vsp
图片尺寸1024x576
拆解报告zeesung知崇2860w交流充电枪zc16vsp
图片尺寸1024x576
腾茂3500w交流充电枪拆解
图片尺寸1080x721
拆解报告腾茂3500w新能源汽车交流充电枪
图片尺寸1024x683
拆解报告腾茂3500w新能源汽车交流充电枪
图片尺寸1024x683
25/4kw便携充放电枪拆解_腾讯新闻
图片尺寸960x640
有3500w和7000w可选快慢你来定腾茂新能源汽车交流充电枪拆解
图片尺寸660x441
车上备着充电无忧,德尔福1760w新能源汽车交流充电枪拆解_来自_型号
图片尺寸1200x800
25/4kw便携充放电枪拆解_腾讯新闻
图片尺寸960x640
25/4kw便携充放电枪拆解_腾讯新闻
图片尺寸960x640
原创或许你就在使用它比亚迪1760w新能源汽车交流充电枪拆解
图片尺寸1024x683
拆解报告腾茂3500w新能源汽车交流充电枪
图片尺寸1024x683
拆解报告byd比亚迪1760w新能源汽车交流充电枪
图片尺寸1024x683
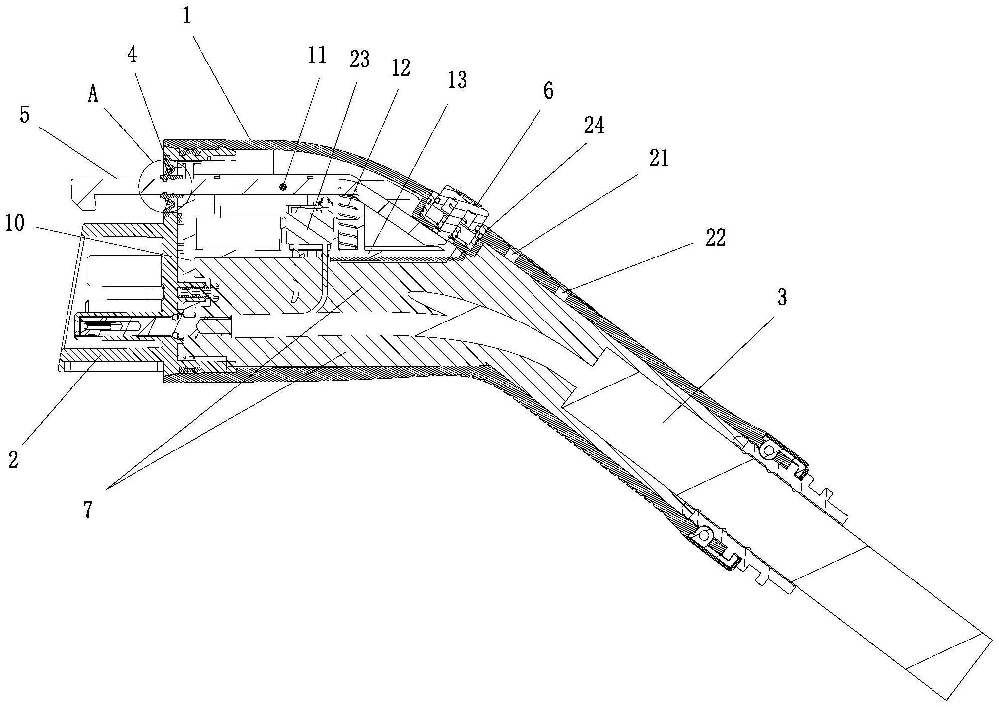
高效防水式全灌胶充电枪
图片尺寸2013x1425
充电枪密封外壳及一体式充电枪
图片尺寸2101x1628