充电桩结构

一种直流充电桩的结构专利_专利申请于2018-09-13_专利查询 - 天眼查
图片尺寸1000x990
一种前开门充电桩结构专利_专利申请于2018-12-14_专利查询 - 天眼查
图片尺寸809x1000
深圳充电桩厂家 ac7000-ag-24 带屏无卡运营版7kw交流充电桩 独立漏保
图片尺寸698x698
知荐| 电动汽车直流充电桩(快充)设计难点与解决方案(106页ppt详解)_
图片尺寸1080x810
一种一桩四枪的电动汽车交流充电桩专利_专利查询 - 天眼查
图片尺寸1446x1893
一种新能源汽车用直流充电桩的制作方法_2
图片尺寸856x1000
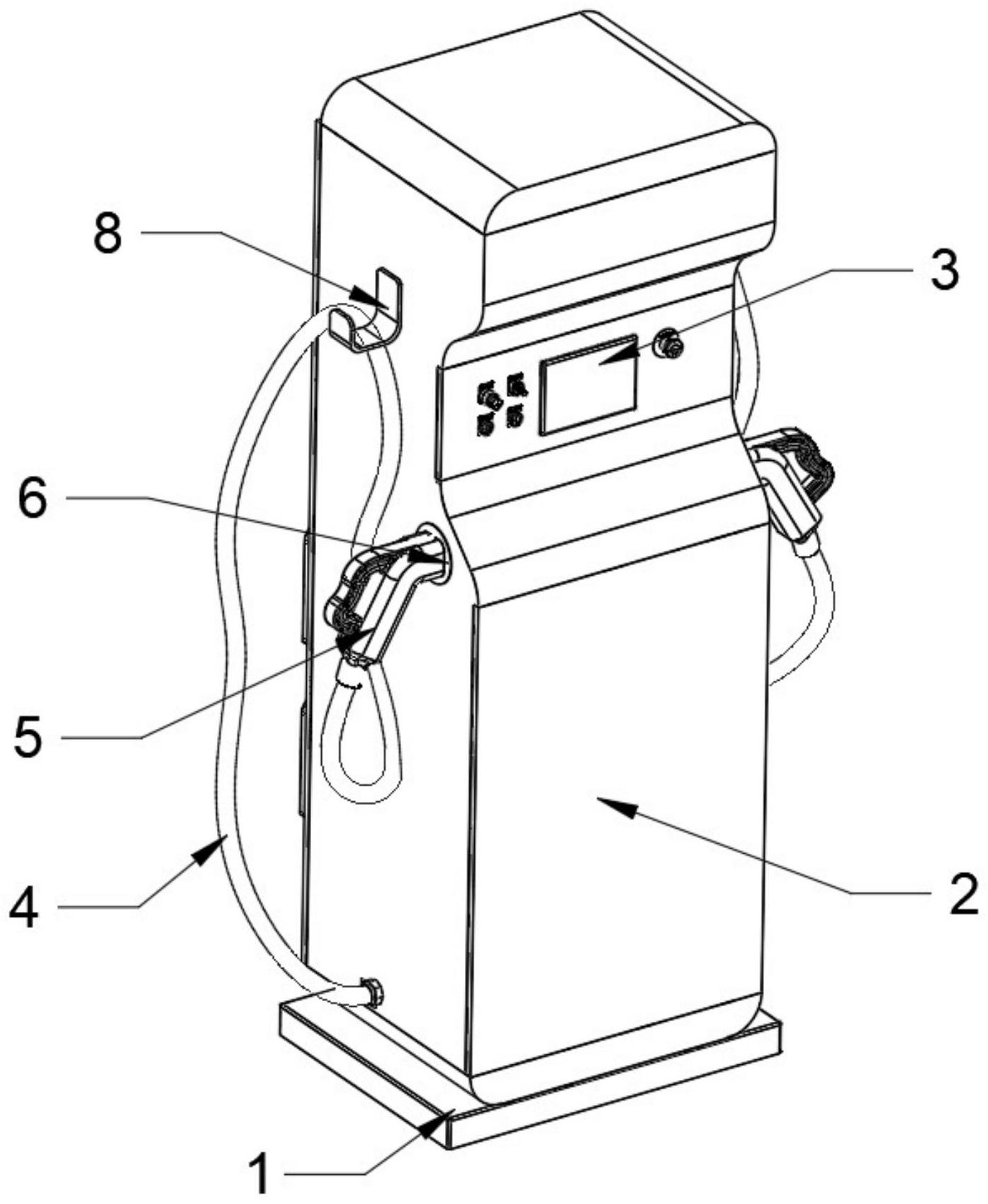
一种前开门充电桩结构的制作方法
图片尺寸810x1000
半椭圆形交流单充7kw充电桩 - 维护设备及工具图纸 - 沐风网
图片尺寸820x815
双矩形壁挂交流单枪7kw充电桩 - 维护设备及工具图纸 - 沐风网
图片尺寸820x973
详解改性塑料在充电桩上的应用有哪些?
图片尺寸657x265
一种防水型电动汽车充电桩的结构专利_专利申请于2011-09-01_专利查询
图片尺寸1756x1784
一种模块化的充电桩结构的制作方法
图片尺寸443x417
一种充电桩结构及充电桩专利_专利申请于2020-07-31_专利查询 - 天眼
图片尺寸1154x1295
一种防雨的充电桩结构的制作方法
图片尺寸955x1000
智能交流充电桩c1
图片尺寸2912x1244
双充直流充电桩的电气结构及工作原理
图片尺寸920x1302
充电桩发展现状与未来发展趋势(中) | 厚势
图片尺寸1280x780
停车场移动充电桩结构的制作方法
图片尺寸751x1026
米尔科技专业提供充电桩技术解决方案-深圳市米尔科技有限公司
图片尺寸814x506
一种基于物联网用汽车充电桩限位结构专利_专利查询 - 天眼查
图片尺寸1394x1698