光伏幕墙结构

太阳能光电幕墙集合了光伏发
图片尺寸752x552
一种隐框式光伏玻璃幕墙的制作方法
图片尺寸1000x883
耗资65亿美国驻英大使馆新楼etfe板光伏幕墙
图片尺寸641x461
高科技幕墙投资选址项目
图片尺寸600x600
cn110748059a_一种隐框式光伏玻璃幕墙在审
图片尺寸1000x883
光伏建筑一体化(bipv)典型结构设计,节点,案列应有尽有!
图片尺寸383x370
光伏建筑一体化(bipv)典型结构设计,节点,案列应有尽有!
图片尺寸357x363
光伏建筑一体化(bipv)典型结构设计,节点,案列应有尽有!
图片尺寸285x393
一种光伏组件安装结构及光伏幕墙的制作方法
图片尺寸1000x769
光电幕墙示意图
图片尺寸400x542
的副框,所述副框用于装配墙面部件;其中,所述墙面部件设置为光伏组件
图片尺寸800x913
一种新型光电幕墙的制作方法
图片尺寸981x1000
在隐框幕墙工程中,无论是面层的结构装配,还是实现幕墙气密性,水密性
图片尺寸616x552
碧园大厦太阳能钢结构底座顺利交付业主使用 - 德瑞幕墙装饰集团 专业
图片尺寸1280x960
太阳能光伏板不一定非得用于透明玻璃幕墙,这种应用形式也靠谱!
图片尺寸474x306
外围护结构采用外挂grc幕墙系统,光伏玻璃幕墙系统,高性能装配式单元
图片尺寸820x615
隐框采光顶竖剖面节点示意图光电幕墙考虑到遮挡,光伏组件的加工限制
图片尺寸551x501
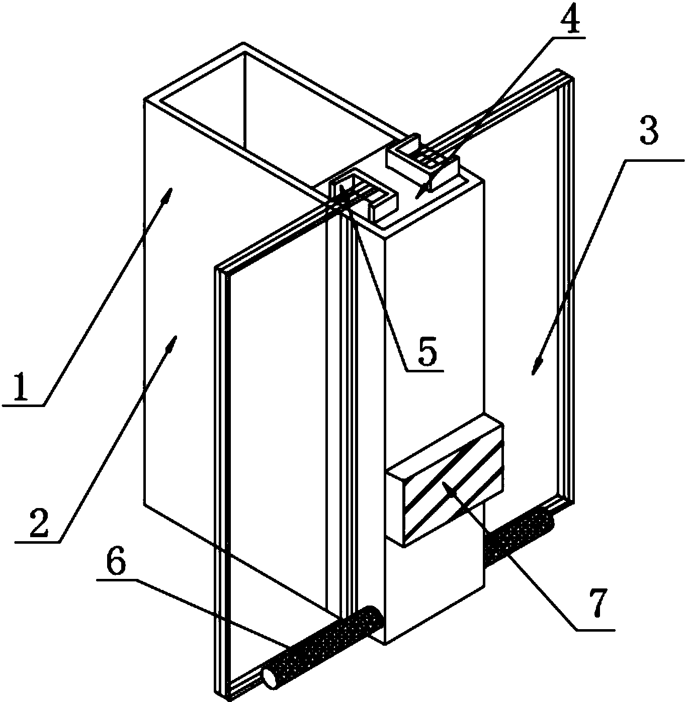
包括装置本体,装置本体包括结构框架和光电幕墙,结构框架的顶部设置有
图片尺寸1362x1397
光伏幕墙系统标准图-幕墙结构节点详图-筑龙结构设计论坛
图片尺寸760x576
特有的通风屋面构造,太阳高辐射热地区具有明显的隔热优势 4,可与光伏
图片尺寸900x599