光具座简笔画

透镜成像光具座的制作方法
图片尺寸935x1000
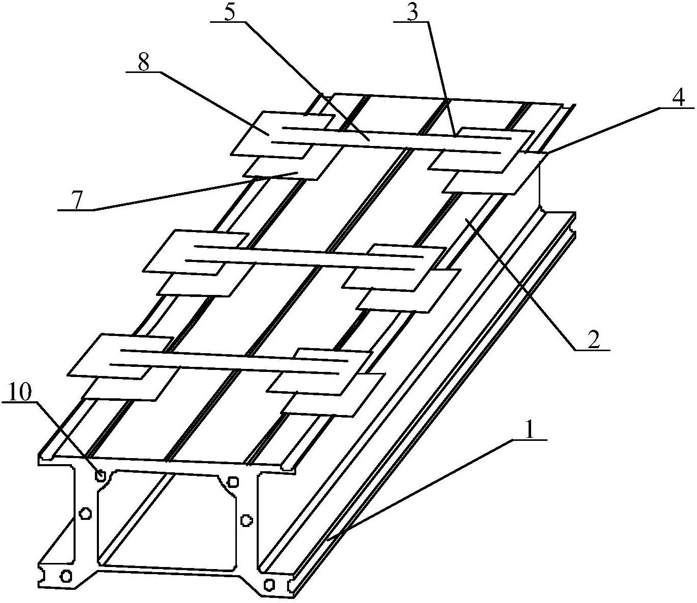
cn105355125b_一种高精度光具座有效
图片尺寸2459x1649
光具座简笔画
图片尺寸489x500
一种可调光具座-爱企查
图片尺寸1374x1190
一种高精度光具座
图片尺寸360x241
光发亮简笔画
图片尺寸500x641
一种高精度光具座
图片尺寸1000x670
进口仪器部光学元件部光学平台部光具座系列订制品位移台系列精密定位
图片尺寸359x619
曾刚的彩墨山水画太美附山水教程
图片尺寸640x447
采用光具座的头戴式增强现实设备的制作方法
图片尺寸1000x853
「玉龙雪山」主题之作1.《玉龙雪山》,油彩画布,76×86cm,1978年作.
图片尺寸1080x762
光具座简笔画
图片尺寸373x288
火柴人刀光剑影简笔画来了
图片尺寸1024x576
岭等,在画山石时要根据山石的特点来行笔,不能统一用一种模式去套画
图片尺寸640x779
在"探究凸透镜成像规律"的实验中,凸透镜放置在光具座的"50cm"刻度线
图片尺寸455x148
摘要:本实用新型公开一种透射光栅实验装置,包括光具座以及依次可滑动
图片尺寸443x407
国务院特殊津贴专家—户广生"艺鸿"|超写实|美术|工笔_新浪新闻
图片尺寸540x1066
民间故事乞丐久居破庙无意中听到哑巴喊叫乞丐赶紧推倒佛像
图片尺寸640x387
光遇简笔画# 菇菇美人
图片尺寸660x622
国务院特殊津贴专家—户广生"艺鸿"_肌理_作品_中国
图片尺寸632x1054