光电探测器结构

所有分类 apd 特性ppt 关于apd的特性说明 pin光电检测器的结构 入射
图片尺寸1080x810
一种基于超短沟道石墨烯的光电探测器的制作方法
图片尺寸1000x593
光电感烟探测器产品介绍ppt
图片尺寸1080x810
光电式光量传感器的结构
图片尺寸800x350
一种无铅准二维锡基钙钛矿薄膜及其制备的光电探测器
图片尺寸444x327
光电探测器:灵敏度,偏置和带宽
图片尺寸542x269
cn201653545u_光电探测器探头结构及使用其的辐照均匀性测试仪失效
图片尺寸1873x628
4,光电探测器 (1)p-n结光电二极管 基本结构及工作原理 光电
图片尺寸1080x810
一种msm结构的柔性瞬态硅薄膜光电探测器的制作方法
图片尺寸1000x618
一种量子点增强的纳米线以及紫外光电探测器
图片尺寸1000x726
图8-57 光电式减速度传感器结构
图片尺寸571x378
西门子生产的光电式感烟探测器它根据原理分为哪几类
图片尺寸600x261
发明涉及一种基于金属等离激元结构热电子效应的偏振敏感型光电探测器
图片尺寸1000x703
2te 3/有机小分子平面异质结光电探测器及其能带结构示意图
图片尺寸3150x1652
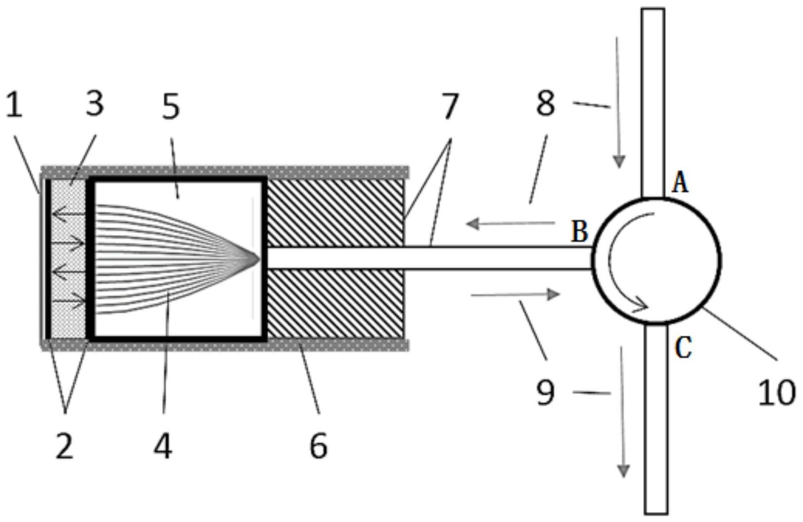
一种基于聚光效应的半导体光电探测器的制作方法
图片尺寸1000x564
cn101545810a_一种高速单光子探测方法与探测器有效
图片尺寸1634x1198
一种基于石墨烯的微型超宽带光探测器及其制作方法-爱企查
图片尺寸1140x814
一种超小型干涉式超快x射线光纤探测器
图片尺寸1623x1056
硅二维材料光电探测器从近红外到中红外
图片尺寸703x480
今早接着昨天聊聊pinapd型光电探测器基本结构
图片尺寸768x577