光隔离器的结构

原装hcnw2211-500e 光电元件 光隔离器 - 逻辑输出 5mbd-阿里巴巴
图片尺寸800x800
光隔离器的原理及作用
图片尺寸492x249
光隔离器的工作原理是(光隔离器原理应用与技术参数)
图片尺寸1396x548
【捷瑞】捷瑞 jara 3109 db9型rs232串口光电隔离器-阿里巴巴
图片尺寸800x800
全新进口 moc3043 moc3043m dip6 光隔离器 可控硅驱动 光耦 直插
图片尺寸800x800
光隔离器的功能和基本原理
图片尺寸478x250
光隔离器1b
图片尺寸1049x583
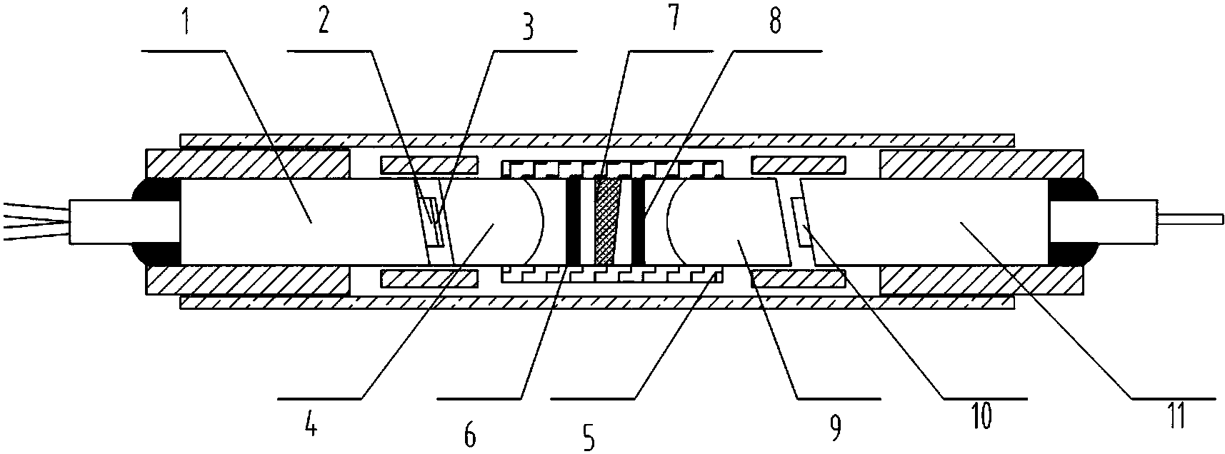
一种光隔离器
图片尺寸1715x636
隔离器的应用及验证简述
图片尺寸640x321
全面介绍光隔离器与光隔离器的应用
图片尺寸553x417
光隔离器到底是如何实现光隔离效果的
图片尺寸752x444
光纤隔离器的原理,种类和作用
图片尺寸480x259
光电隔离器(optical coupler,英文缩写为oc)亦称光耦合器,简称光耦.
图片尺寸1200x600
具体涉及一种低成本新结构微型光纤在线隔离器,属于光纤通信领域
图片尺寸1000x288
隔离度高,器件体积小,是目前主要应用的光隔离器结构,随着高速光通信
图片尺寸485x241
法拉第隔离器--安特激光技术有限公司
图片尺寸551x256
一种光隔离器的制作方法
图片尺寸1000x616
光隔离器 tlp291-4gb-tp.e tlp291-4gb tlp291 sop16 现货-阿里巴巴
图片尺寸800x800
偏振无关型光隔离器的制作方法
图片尺寸1000x787
一种典型的在线式光隔离器如图2所示,里面包含几个主要元件:磁环
图片尺寸554x243