光驱简笔画

dvd player
图片尺寸1927x1473
portable dvd player with built-in battery
图片尺寸1842x2558
portable dvd player with stand
图片尺寸2865x2338
如何画dvd影碟机简笔画
图片尺寸900x600
portable dvd player
图片尺寸1620x2778
热门: dvd player
图片尺寸600x600
磁盘,光驱,线图标,光盘,计算机
图片尺寸1100x1100
dvd,线图标,光驱,粉饼,数据
图片尺寸1100x1100
光驱
图片尺寸1512x1747
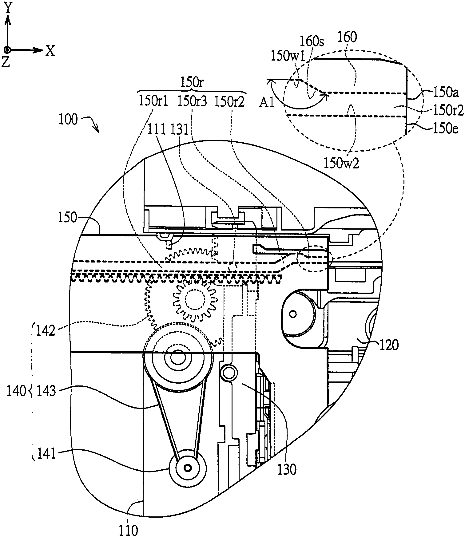
背景技术:光驱,电脑用来读写光碟内容的机器,也是在台式机和笔记本
图片尺寸1000x530
cn209822280u_一种具有防电磁干扰的计算机光驱有效
图片尺寸1000x528
portable dvd player with built-in battery
图片尺寸1610x1017
光驱,dvd,图标,分离着色,传媒
图片尺寸1100x1100
光盘播放器图标插画-正版商用图片146e2p-摄图新视界
图片尺寸700x700
cd dvd光盘设备黑线粗细图标
图片尺寸1100x1102
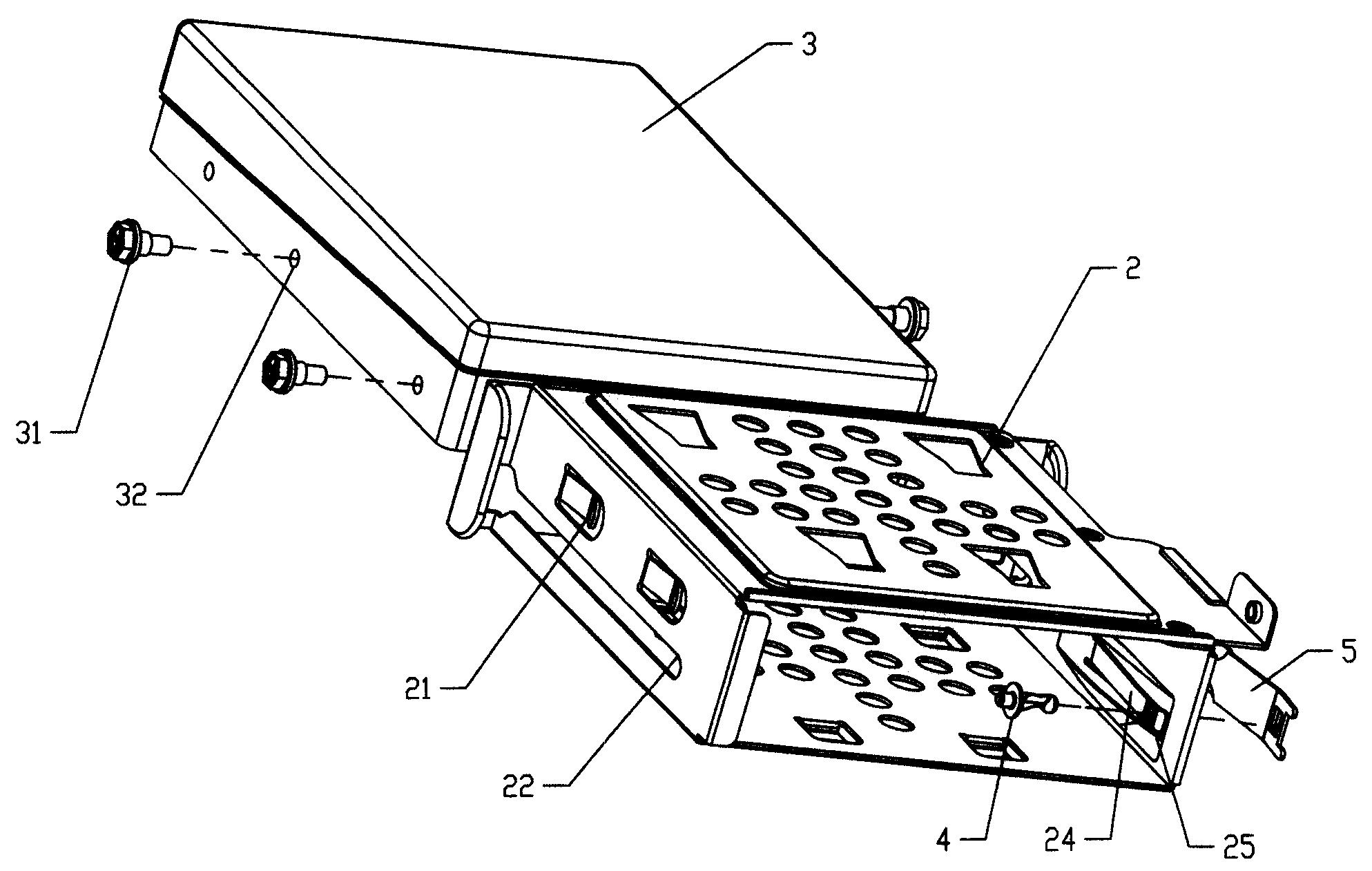
电脑机箱中硬盘/光驱的固定结构-爱企查
图片尺寸1987x1261
portable dvd player with rotatable screen
图片尺寸1618x2311
dvd,线图标,光驱,粉饼,圆形
图片尺寸1100x1100
cd 裁谈会图标下载
图片尺寸512x512
绘画插图,图标,光盘,器材箱,dvd
图片尺寸1100x1100