全自动插格机

永旗全自动插格机,昆山永旗工业自动化有限公司!专业制造!
图片尺寸1728x1080
永旗全自动插格机,超高插格,昆山永旗工业自动化有限公司!
图片尺寸1152x720
自动插格机
图片尺寸1920x1080
永旗纸板自动插格机!昆山永旗工业自动化有限公司制造!
图片尺寸1728x1080
沧州朝利#自动插格机生产厂家 - 抖音
图片尺寸2000x920
全自动插格机
图片尺寸442x404
光阳全自动插格机 隔板机 插卡机 包装纸箱机械
图片尺寸1782x986
晟玮全自动插格机
图片尺寸864x486
全自动插格机,适用于酒盒隔挡,换妆品隔挡,礼盒格挡!
图片尺寸1280x1280
全自动插格机,适用于酒盒隔挡,换妆品隔挡,礼盒格挡!
图片尺寸1280x1280
全自动插格机,适用于酒盒隔挡,换妆品隔挡,礼盒格挡!
图片尺寸1280x1280
光阳全自动插格机
图片尺寸1024x576
永旗纸板插格机,永旗全自动插格机!昆山永旗工业自动化有限公司!
图片尺寸1728x1080
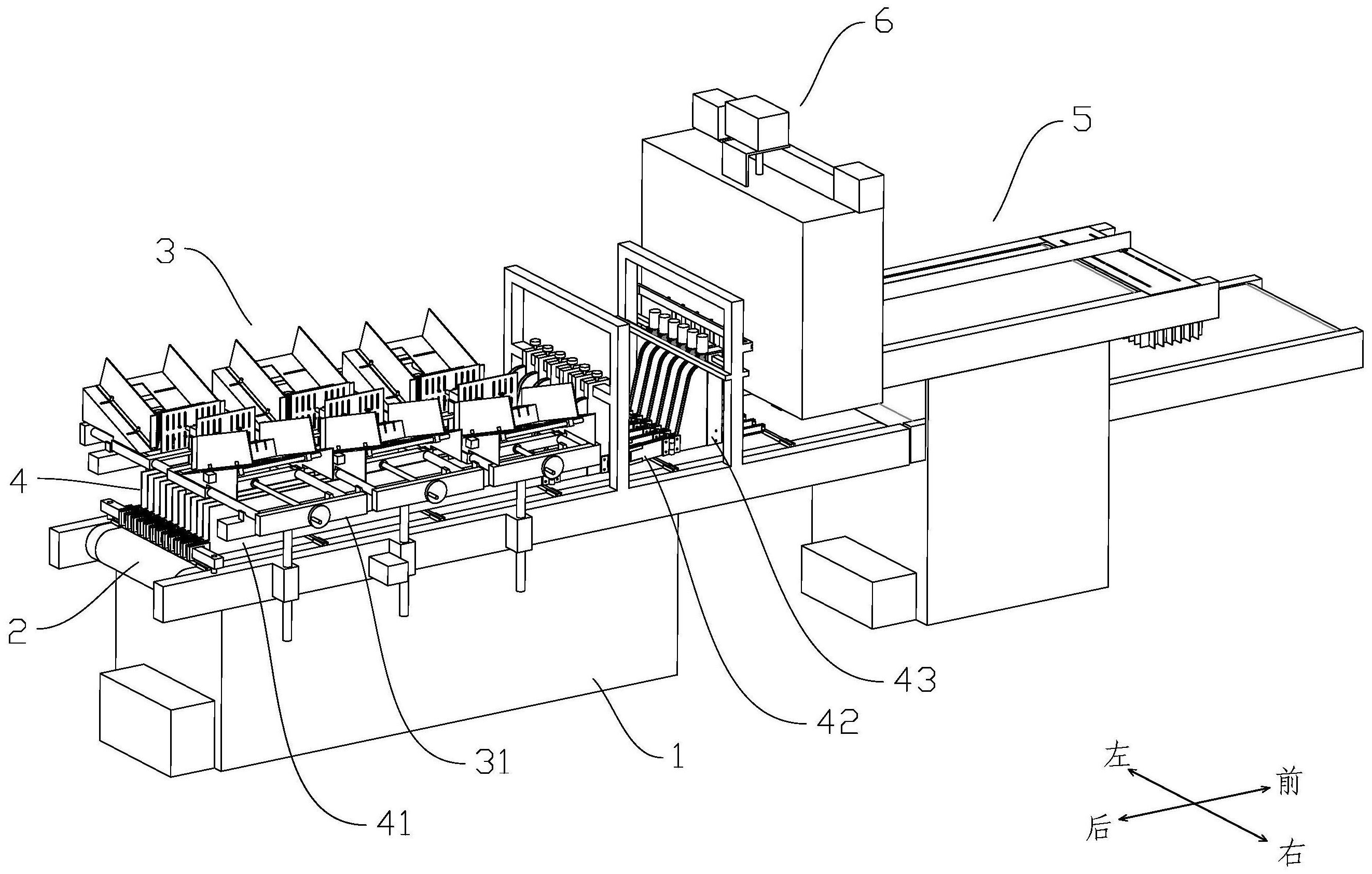
一种全自动插格机
图片尺寸2645x1684
东光县光阳纸箱机械厂全自动插格机
图片尺寸1214x691
永旗自动插格机,大型插格机,昆山永旗工业自动化有限公司,山东纸箱厂
图片尺寸1152x720
全自动插格机,适用于酒盒隔挡,换妆品隔挡,礼盒格挡!
图片尺寸1280x1280
光阳全自动插格机 隔板机 插卡机 包装纸箱机械
图片尺寸1920x1253
名称:东光县光阳纸箱机械厂4年全自动插格机快速插格机自动插格机型号
图片尺寸750x750
光阳插格机
图片尺寸864x486