八音盒结构

半物生活 音乐盒木质八音盒生日礼物七夕节送女朋友闺蜜发条音乐首饰
图片尺寸750x519
jeancard木质山洞旋转火车音乐盒八音盒创意礼物送女男友特别生日圣诞
图片尺寸750x442
送朋友的礼物十二星座音乐盒旋转木马八音盒女生欧式生日送女生儿童
图片尺寸750x1015
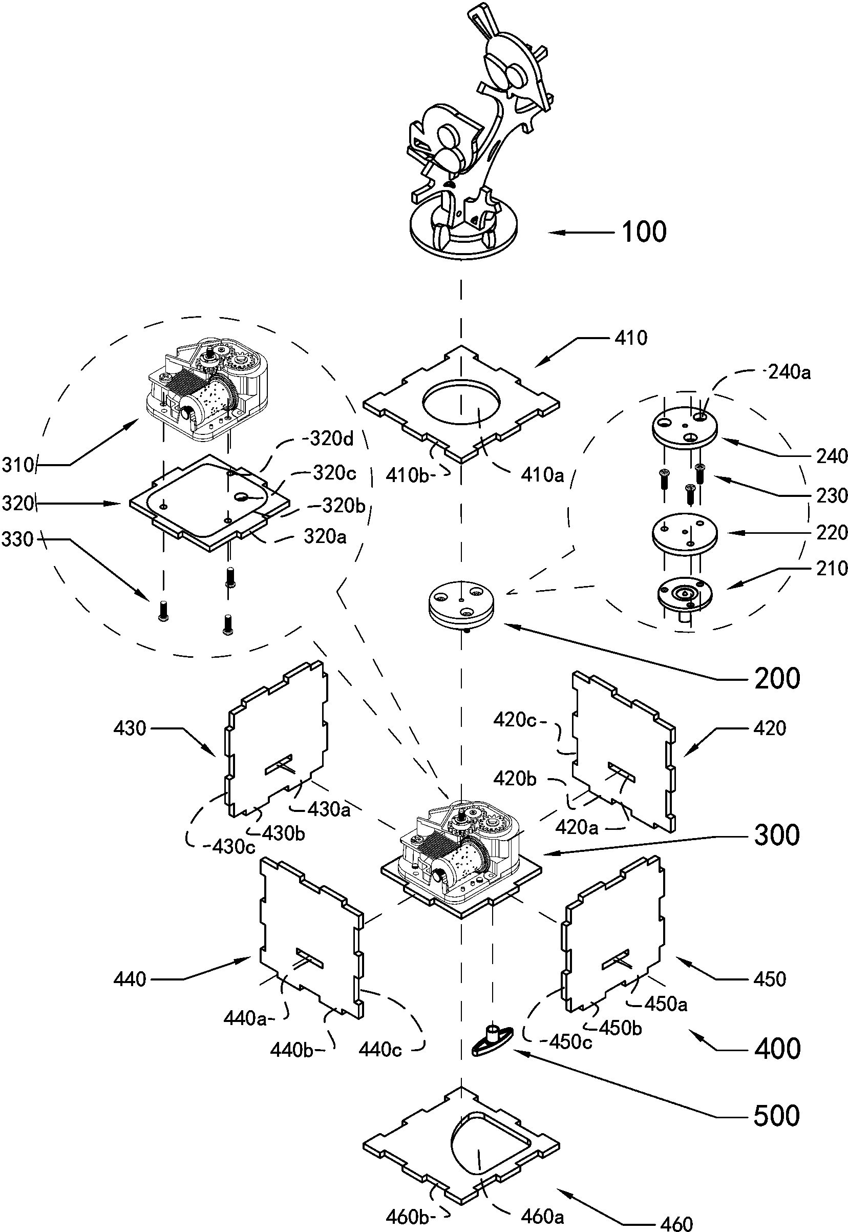
八音盒装置的制作方法
图片尺寸887x1000
透视机械之美,解密内部构造 #解压 #八音盒#音乐盒#礼品 - 抖音
图片尺寸800x800
八音盒🎠为何是"八音",它怎样发声
图片尺寸372x372
音乐盒八音盒机械 创意音乐怀表八音盒生日礼物送女生天空之城机械芯
图片尺寸790x1716
006_音乐盒(八音盒)拆解及发音原理说明_5min-vlog视频-搜狐视频
图片尺寸3840x2160
旋转发条透明水晶音乐盒八音盒之城宫崎骏千与千寻机芯手摇送男女朋友
图片尺寸750x1013
八音盒机械结构|工业/产品|生活用品|幺幺大罗尧 - 原创作品 - 站酷 (
图片尺寸1280x716
手摇迷你小八音盒天空之城音乐盒小学幼儿园毕业生日礼物小礼品
图片尺寸800x800
世界上第一个利用您的智能手机来播放任何歌曲的机械音乐盒! - 普象网
图片尺寸1050x1050
sankyo发条机芯音乐盒八音diy配件组装音乐盒
图片尺寸800x1200
旋转木马八音盒结构设计sw三维3d图纸工艺品音乐盒模型【820】
图片尺寸1010x1010
八音盒机械结构|工业/产品|生活用品|幺幺大罗尧 - 原创作品 - 站酷 (
图片尺寸1280x839
一种木质diy八音盒专利_专利申请于2017-01-05_专利查询 - 天眼查
图片尺寸1656x2405
一种用于儿童手指肌肉锻炼的八音盒积木模块专利_专利查询 - 天眼查
图片尺寸1516x1385
八音盒机械结构|工业/产品|生活用品|幺幺大罗尧 - 原创作品 - 站酷 (
图片尺寸1280x715
若客机械八音盒旋转木马圣诞音乐盒木拼装diy手工礼物送女友520情人节
图片尺寸790x1264
一种八音盒的制作方法
图片尺寸932x1000