公交车扶手简笔画

公交车扶手(1)
图片尺寸432x639
扶手三
图片尺寸576x1201
一种基于空气压缩卡扣的公交车伸缩扶手-爱企查
图片尺寸1035x1379
cn111216613a_一种利用非牛顿流体防止公交车急刹扶手在审
图片尺寸1000x889
一种组合式空间节约型公交车用扶手
图片尺寸444x318
cn202147610u_公交车拉手失效
图片尺寸1480x1969
一种基于调节组件的公交车用扶手
图片尺寸443x399
一种方便更换的公交车扶手
图片尺寸443x355
一种公交车的自稳式扶手
图片尺寸443x403
公交车拉手s型
图片尺寸894x1654
一种公交车自清洁扶手制造技术
图片尺寸609x1000
扶手三
图片尺寸1056x1329
扶手
图片尺寸1648x929
一种利用非牛顿流体防止公交车急刹扶手的制作方法
图片尺寸1000x889
图片信息
图片尺寸670x670
公交车座椅靠背上后排都设有两个扶手,后排乘客以及站立乘客都会抓
图片尺寸1080x1027
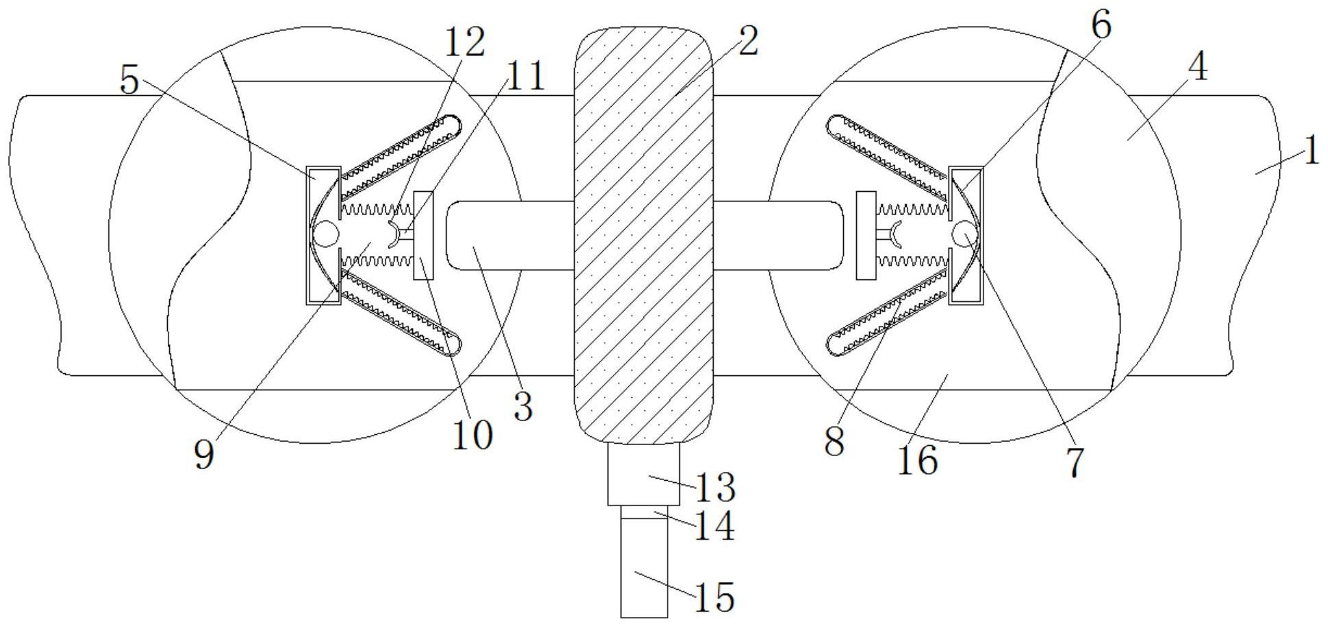
一种公交车用减小惯性扶手稳定装置-爱企查
图片尺寸1939x917
一种大巴车座的侧边扶手用罩板的制作方法
图片尺寸1000x873
公交车把手的轮廓图标
图片尺寸512x512
公交车 简笔画 #交通工具简笔画##儿童画##创意儿童画# #儿童插画
图片尺寸961x1280