公开光刻机图纸

本实用新型公开了一种单面自动光刻机的对位机构,包括光刻平台,所述
图片尺寸1858x1553
一种步进式高精度光刻机
图片尺寸1683x1748
一种全自动双面数字光刻机的制作方法
图片尺寸494x399
光刻机工作原理图
图片尺寸1080x810
集成电路光刻机精密运动台控制方法
图片尺寸924x665
光刻机工作原理图
图片尺寸1593x881
一种激光直刻金属柱面光栅光刻机
图片尺寸1793x1940
光刻机售价 - 2020年最新商品信息聚合专区 - 百度爱采购
图片尺寸640x408
雕刻机图纸
图片尺寸1188x918
cn110560912a_一种激光雕刻机在审
图片尺寸906x1000
nikon stepper i7-i14 ,s204光刻机光刻对准与曝光介绍
图片尺寸480x476
一种单面自动光刻机的进出料板结构
图片尺寸1914x1224
制造一台光刻机究竟有多难
图片尺寸798x357
光刻机详解
图片尺寸353x220
cn103792794a_一种接近式光刻机有效
图片尺寸1000x652
2513铝板雕刻机 - 机械加工图纸 - 沐风网
图片尺寸1100x711
华为自研光刻机困难重重,需要突破三重困难
图片尺寸640x397
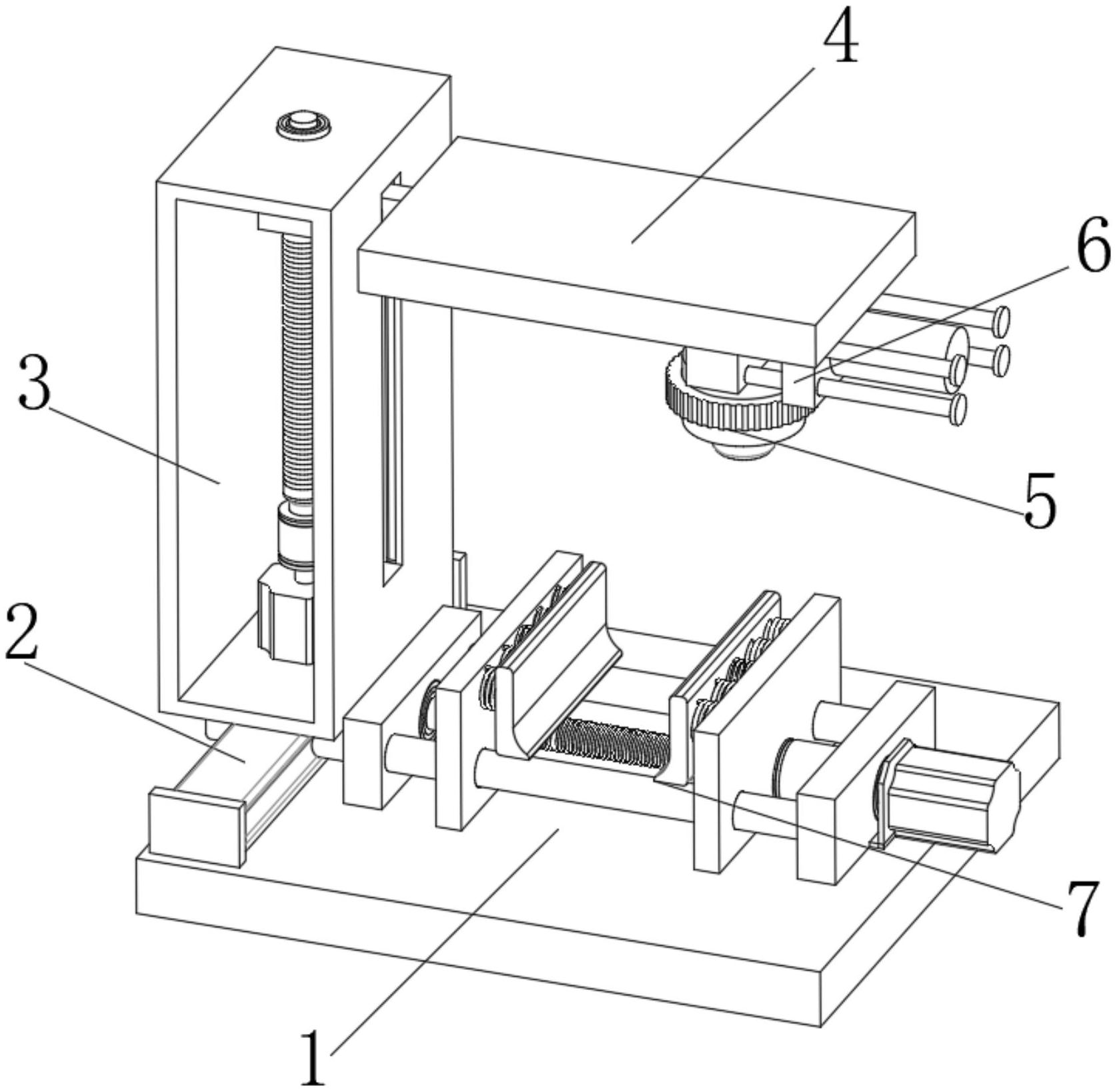
本实用新型公开了一种光刻机的自动对焦的工作装置,包括基座和活动板
图片尺寸1675x1637
本实用新型公开了一种功率放大器芯片生产用接触式光刻机,包括底板
图片尺寸1496x1571
光刻机国产
图片尺寸640x866