六通阀结构图

六通阀的正确打开方式!
图片尺寸798x396
一种六通换向阀-爱企查
图片尺寸1405x1119
一种缩移式六通阀组-爱企查
图片尺寸1108x1199
气体六通阀使用原理
图片尺寸524x361
平面式六通阀.jpg
图片尺寸430x270
图5-3 气体进样器(平面六通阀)功能结构示意图气体进样器(平面六通阀)
图片尺寸521x308
六通阀上样.jpg
图片尺寸1600x806
离子色谱六通阀进样器
图片尺寸324x278
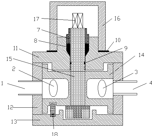
一种缩移式六通阀组的制作方法
图片尺寸926x1000
基层群众工作存在的问题_汽轮机润滑油冷油器六通阀的工作原理及现
图片尺寸660x776
六通阀进样示意图
图片尺寸564x285
现有的磁式质谱仪的六通阀进样器结构复杂,使用较为方便,使用寿命短
图片尺寸439x495
拉杆六通阀结构
图片尺寸2062x1512
六通阀可以实现多种流体流向的切换和控制
图片尺寸1175x789
流路中为高压力工作状态, 通常使用耐高压的六通阀进样装置, 其结构
图片尺寸1080x810
如果鬼峰问题解决则高度怀疑进样针,针座,六通阀转子污染问题
图片尺寸992x556
主题:【求助】vici 六通阀
图片尺寸700x344
cn105715828a_一种六通阀失效
图片尺寸502x447
2,六通切换阀的结构特点
图片尺寸411x497
一种缩移式六通阀组的制作方法
图片尺寸859x1000