关风器图纸

一种清理式关风器的制作方法
图片尺寸1000x650
ycdyjd系列关风器
图片尺寸800x1145
一种切削式关风器的制作方法
图片尺寸1000x959
一种无残留关风器的制作方法
图片尺寸507x1000
一种气动清理关风器的制作方法
图片尺寸1000x939
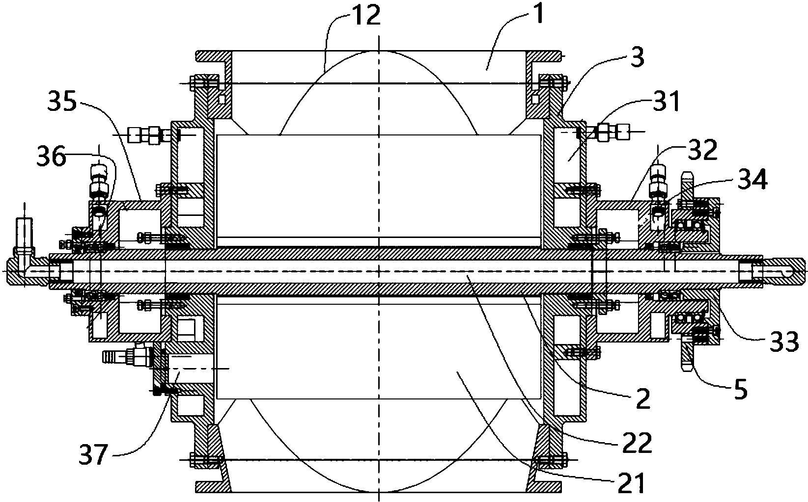
一种耐高温关风器
图片尺寸1645x1023
厂家出售关风器 粉料颗粒关风器 粉尘关风器 面粉厂用关风器
图片尺寸750x1069
正压送料6l关风机总图下载(173.06 kb,dwg格式) 机械cad图纸
图片尺寸1075x750
一种四叶节能防堵关风器的制作方法
图片尺寸1000x884
一种关风机的制作方法
图片尺寸1000x855
一种具有防堵功能的正压关风器的制作方法
图片尺寸1000x768
关风器cad图纸
图片尺寸800x600
tgfz组合关风器
图片尺寸300x261
一种清理式关风器制造技术
图片尺寸1000x900
关风机cad图纸dwg图纸
图片尺寸504x590
产品中心关风机关风器闭风器系列
图片尺寸720x354
公司以前的生产图纸-关风器,有需要的朋友拿去慢慢研究
图片尺寸705x495
背景技术:关风机也叫卸料器,锁气阀,旋转阀,可以用在收集物料系统中
图片尺寸1000x562
背景技术:关风机也叫卸料器,锁气阀,旋转阀,关风机分普通型,耐压型,耐
图片尺寸1000x658
一种面粉机械用关风器的制作方法
图片尺寸991x1000