内六角扳手图纸

jisb46481994内六角扳手
图片尺寸2245x1387
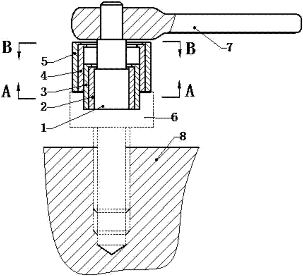
一种内六角扳手套装的制作方法
图片尺寸687x1248
gb535785内六角花形扳手
图片尺寸800x1133
iso 2936-2001 长型内六角槽用扳手
图片尺寸2245x1387
批发套装内六角扳手内六角球形扳手加长镀镍球头加长手动扳手工具
图片尺寸1000x1000
1143防爆成套加长球头内六角扳手
图片尺寸700x916
内六角扳手套装万能六角螺丝刀扳手工具六角钥 六方l型扳手
图片尺寸791x589
供应优质内六角扳手
图片尺寸824x426
一种便携式内六角扳手的制作方法
图片尺寸587x351
一种组合式内六角扳手制造技术
图片尺寸828x1000
一种小空间用应急内六角扳手的制作方法
图片尺寸1000x903
45#加硬镀锌内六角扳手din911-m4.7*25*66 标准图纸
图片尺寸570x380
一种便携式内六角扳手加力杆的制作方法
图片尺寸1000x442
内六角花形扳手 型号:请根据参数选型 下载相关图纸
图片尺寸950x425
内六角扳手
图片尺寸600x232
百科知识内六角扳手尺寸
图片尺寸700x317
请简述下图扳手的画法与步骤,谢谢
图片尺寸1171x519
内六角扳手规格及尺寸ppt
图片尺寸1080x810
对扳手进行标注分析
图片尺寸1310x844
cn105598896b_一种内六角螺栓用集成扳手失效
图片尺寸1000x912