内孔抛光方法

内孔去毛刺机,内孔抛光机,3d视频演示!
图片尺寸1880x936
内孔抛光去毛刺的6种方法_西安斯曼克磨粒流精密机械有限公司_东台市
图片尺寸546x400
各种模具内孔抛光可达到镜面效果,原来是磨粒流默默在付出!
图片尺寸4028x2266
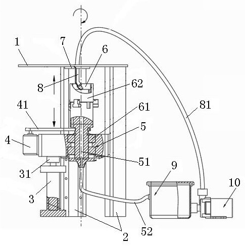
一种内孔抛光装置和方法与流程
图片尺寸1000x373
来吧镜面!内孔抛光,3分钟完成6个!
图片尺寸720x480
内孔抛光,几种不同情况讲解,附动态图展示!
图片尺寸532x300
小口径不锈钢管内孔抛光测试,看用磨粒流效果怎样?
图片尺寸608x381
镜面内壁抛光机定做异形抛光设备厂家
图片尺寸720x1280
内孔抛光,几种不同情况讲解,附动态图展示!
图片尺寸640x439
模具内孔抛光镜面效果,效率是人工抛光的几十倍
图片尺寸1500x644
阀体阀块内孔磨粒流抛光
图片尺寸1244x931
小华达锥数孔压刀滚光内孔压滚光车刀外圆内孔抛光通孔盲控床镜面
图片尺寸750x1000
模具内孔镜面抛光
图片尺寸1267x845
应用磨料水射流的工件内孔抛光装置
图片尺寸485x487
一种新型的内孔抛光技术,流体内孔抛光,直达镜面!
图片尺寸1171x705
内孔抛光机镜面抛光要点介绍正规厂家制造
图片尺寸720x1280
磨粒流内孔抛光案例-机加工零件交叉孔去毛刺
图片尺寸1080x675
小口径不锈钢管内孔抛光测试,看用磨粒流效果怎样?
图片尺寸608x381
挤压模具内孔抛光,如何抛光至镜面效果?
图片尺寸550x485
磨粒流百科丨金属工件内孔如何抛光至镜面
图片尺寸550x440