内腔标记

口腔咬合线图片
图片尺寸560x622
组织与器官ppt
图片尺寸1080x810
想要口气清新,好好刷牙还不够虽然我们每天都会用到
图片尺寸552x550
急急急看我口腔里面怎么了
图片尺寸500x400
你对自己内部认知多少下面我们一起来认识下
图片尺寸500x705
右心房和右心室的内腔
图片尺寸800x800
图175左心室内腔
图片尺寸2056x1566
人体迷宫之——鼻 汉口辅仁小学自然笔记活动(十二)
图片尺寸987x1037
anatomy 101
图片尺寸1024x712
150咽与鼻口喉的交通正中矢状切面
图片尺寸1163x1380
口腔各壁
图片尺寸411x361
石家庄冀联医学院3 3口腔医学额满招生开始了!
图片尺寸484x541
从不刷牙的动物们,为何不长龋齿,精致的人类却饱受牙病摧残?
图片尺寸640x570
年底了有好多工作,所以暂时周更啦,而且大方向的干
图片尺寸1307x1280
现代汉语语音概说ppt
图片尺寸1080x810
内腔
图片尺寸400x300
近内腔者为内,远内腔者为外;近皮肤者为浅;远皮肤者为深.
图片尺寸720x265
人体器官组
图片尺寸800x800
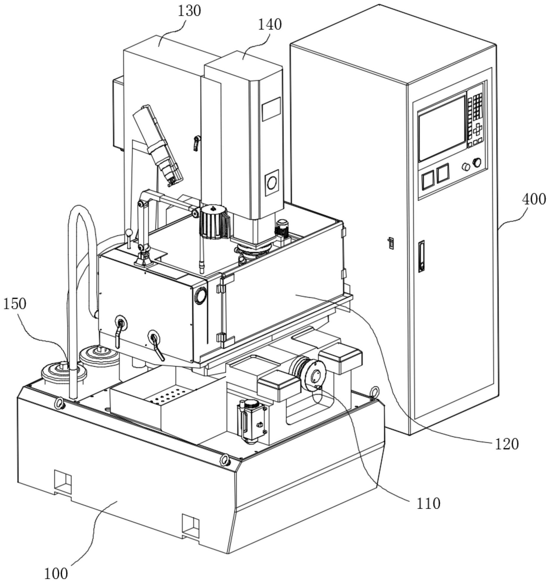
一种金属制品内腔处理电火花机床
图片尺寸1858x1969
缓速器检验人员利用工业内窥镜检查壳体内腔质量.
图片尺寸3024x4032