冲击磨工作原理图

扰流强力冲击磨的制作方法
图片尺寸1000x881
分级式冲击磨在工作时
图片尺寸974x1000
一种冲击磨的制作方法
图片尺寸444x412
振动磨工作原理图(图片来源于网络)5,压辊磨,环辊磨压辊磨,环辊磨都是
图片尺寸477x340
vsi制砂机冲击式破碎机
图片尺寸445x316
一种用于重晶石生产的冲击磨粉磨机的制作方法
图片尺寸1000x908
单平面刚性转子动平衡简化方法探讨
图片尺寸538x354
首页 阳泉冲击磨一,工作原理 物料由进料装置输送至主机粉碎腔
图片尺寸726x359
grinding system nizzoli air disc
图片尺寸795x497
冲击式制砂机
图片尺寸800x580
茶粕粉碎用分级式冲击磨
图片尺寸1695x1738
超细高速冲击磨机组合粉碎工艺系统图
图片尺寸372x264
350-a双电磨/调速电磨/打磨机/抛光机/钻孔/角磨机/雕刻机/根雕
图片尺寸790x416
超细磨粉机(简称超细磨)的工作原理及结构概貌见图.
图片尺寸513x531
供应卧式冲击磨 超细粉碎机 潍坊正远王经理
图片尺寸650x337
项目2 平面磨床的电气控制 矩形工作台平面磨床工作图 1—砂轮 2—主
图片尺寸1080x810
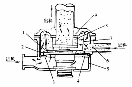
cn2355792y_分级式冲击磨失效
图片尺寸800x687
辊压磨说明书
图片尺寸382x528
背景技术:现在的卧式云母冲击磨上都会设置一个进料口,工作人员会将
图片尺寸1000x704
一种用于对矿石粉体进行粉碎的微粉冲击磨机制造技术
图片尺寸1000x880