冲压机简图

一种冲压机
图片尺寸2056x2007
一种高安全性冲压机
图片尺寸668x1000
一种冲压机床的制作方法
图片尺寸394x444
小型冲压机如图所示,各构件ab,bc,cd(ce=cd)长度分别为a=20mm,b=265mm
图片尺寸516x516
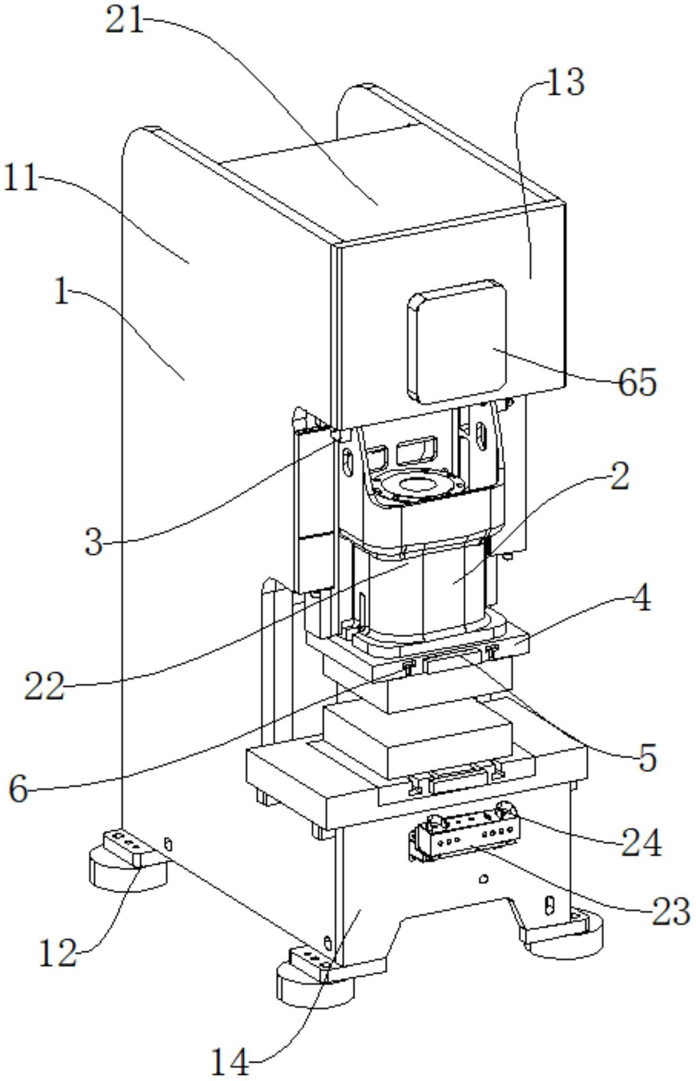
一种冲压机床的制作方法
图片尺寸1714x1509
一种剪切式冲压机
图片尺寸1489x2270
一种胶垫加工用冲压机制造技术
图片尺寸1000x806
冲压设备安全操作培训ppt
图片尺寸1080x810
一种冲压机
图片尺寸1819x2000
一种教学用手动冲压机的制作方法与工艺
图片尺寸808x1000
冲压机的制作方法
图片尺寸892x1000
一种用于加工汽车零部件的冲压机
图片尺寸625x1000
cn1108762a_基于与参考值比较的所检测的物理量的冲压机的诊断方法
图片尺寸1568x2439
一种五金加工用冲压机的制作方法
图片尺寸444x288
一种全自动圆柱销冲压机
图片尺寸1540x1521
一种安全冲压机制造技术
图片尺寸751x1000
一种冲压机的制作方法
图片尺寸321x444
一种用于金属制品的冲压机的制作方法
图片尺寸785x1000
cn213052482u_机械加工用具有防护结构的冲压机
图片尺寸1418x2204
一种用于铝板加工的冲压机的制作方法
图片尺寸655x1000